GM Service Manual Online
For 1990-2009 cars only
Makes
🢒
Chevrolet
🢒
2001
🢒
Astro - 2WD
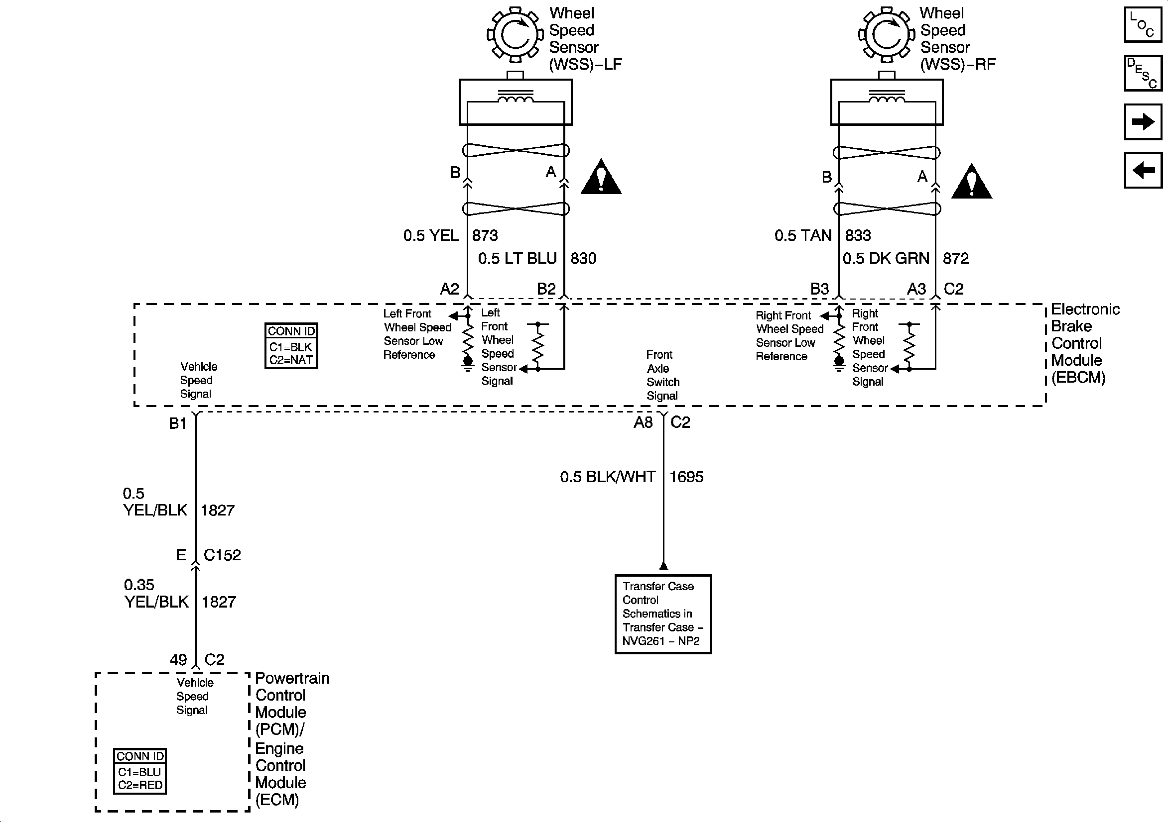
🢒 Speed Sensor Signals - w/o Traction Assist
Speed Sensor Signals - w/o Traction Assist
Speed Sensor Signals - w/o Traction Assist
Master Electrical Component List
ABS Description and Operation
Power, Ground, Serial Data - w/Traction Assist
Power, Ground, Serial Data - w/o Traction Assist
Transfer Case Control Schematics