GM Service Manual Online
For 1990-2009 cars only
Makes
🢒
Chevrolet
🢒
2001
🢒
Astro - 2WD
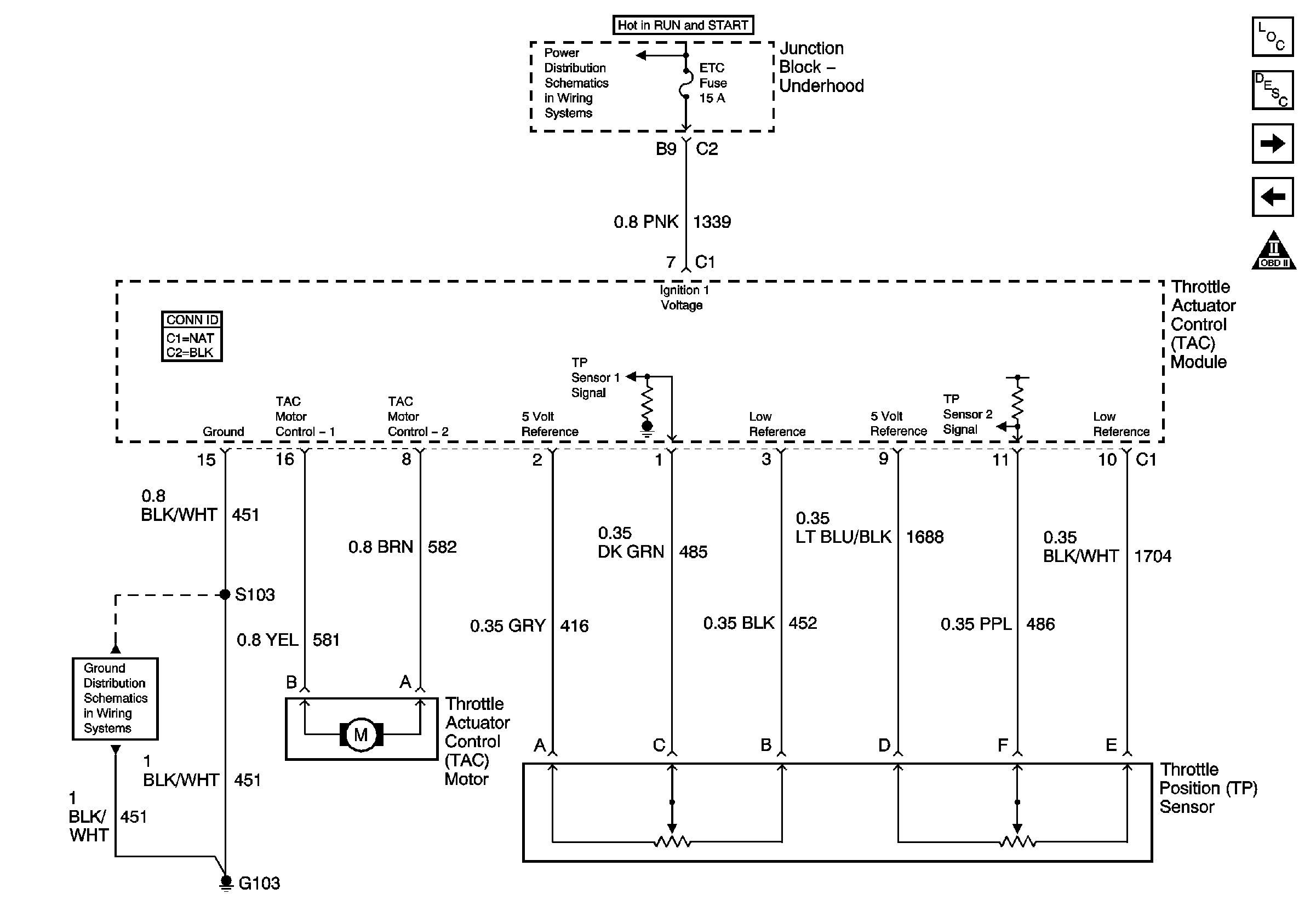
🢒 Engine Data Sensors - Electronic Throttle Controls, TAC Motor, and TP Sensor
Engine Data Sensors - Electronic Throttle Controls, TAC Motor, and TP Sensor
Engine Data Sensors - Electronic Throttle Controls, TAC Motor, and TP Sensor
Master Electrical Component List
Powertrain Control Module Description
Engine Data Sensors - Electronic Throttle Controls, Accelerator Pedal Position Sensor
Engine Data Sensors - HO2S 6.0L w/Isolated Grounded Sensors
OBD II Symbol Description Notice
IGN 1 Relay, and ECM 1, ETC, INJA, INJB Fuses - Gas
G103 and G105 - Gas