GM Service Manual Online
For 1990-2009 cars only
Makes
🢒
Chevrolet
🢒
2001
🢒
Astro - 2WD
🢒 Fuel Controls - Fuel Pump Controls
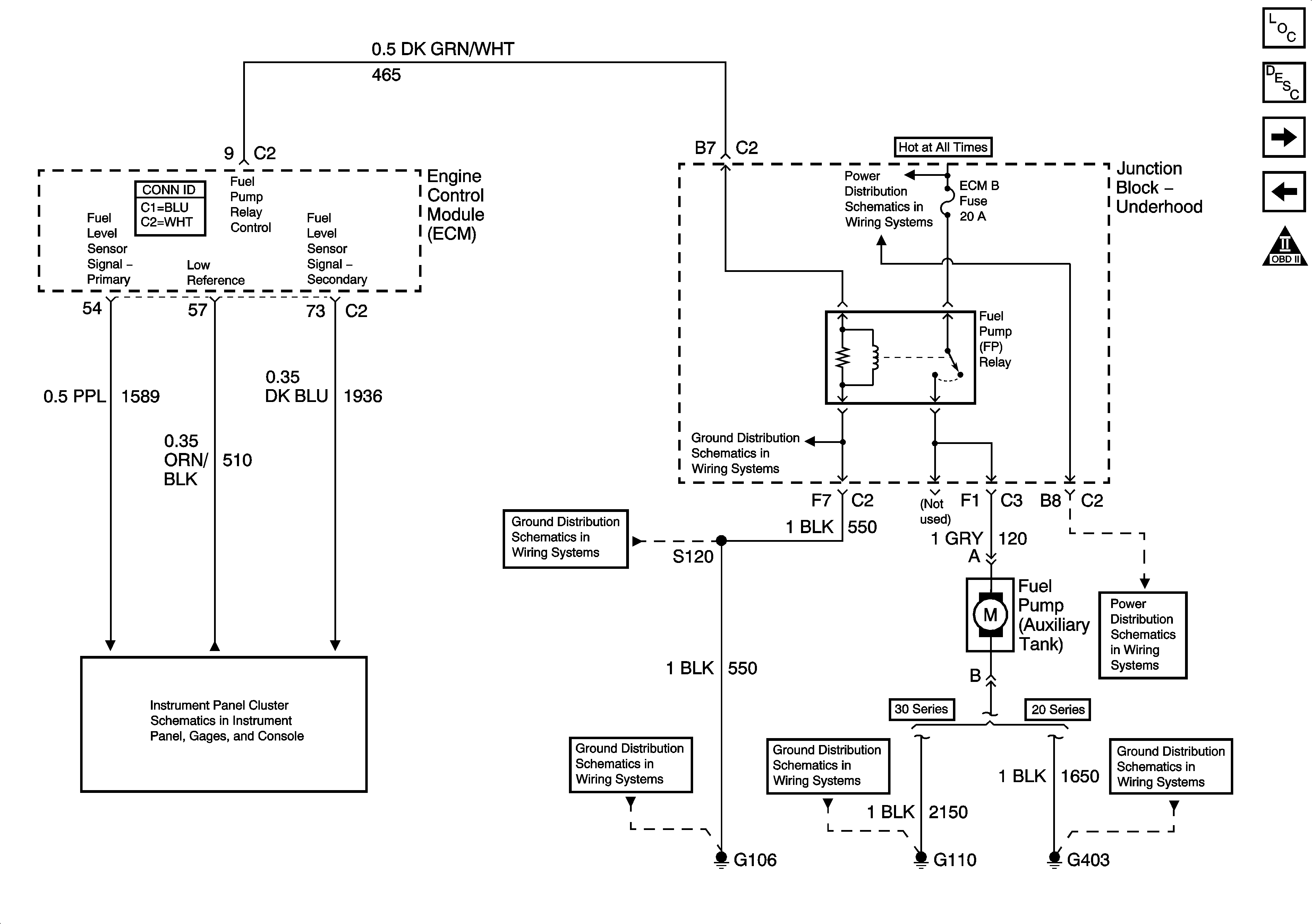
Fuel Controls - Fuel Pump Controls
Fuel Controls - Fuel Pump Controls
Master Electrical Component List
Engine Control Module Description
Fuel Controls - Water In Fuel, Fuel Temperature, and Fuel Pressure
Engine Data Sensors - Glow Plug Controls - w/California Emissions Only
OBD II Symbol Description Notice
B+ Bus Bar
G106 - Diesel
G106 - Diesel
AIR, RADIO, ECM B, FRT HVAC, and CIGAR Fuses
Fuel Gauge and Fuel Pump and Sender Assembly
G106 - Diesel
G100 and G110
G403