GM Service Manual Online
For 1990-2009 cars only
Makes
🢒
Chevrolet
🢒
2001
🢒
Astro - 2WD
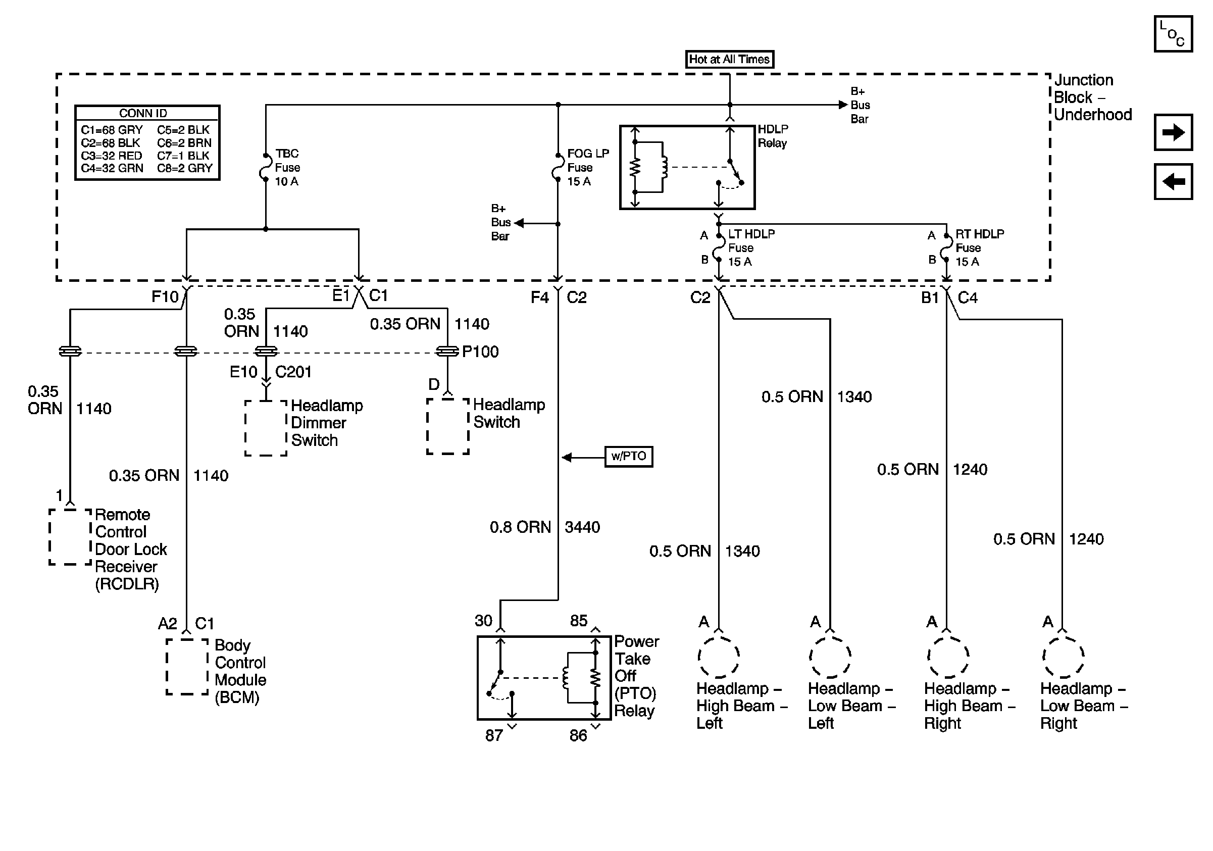
🢒 HDLP Relay, TBC, FOG LP, LT HDLP, and RT HDLP Fuses
HDLP Relay, TBC, FOG LP, LT HDLP, and RT HDLP Fuses
HDLP Relay, TBC, FOG LP, LT HDLP, and RT HDLP Fuses
Master Electrical Component List
IGN 3 Fuse - 1 of 2
Ignition Coils - Gas
B+ Bus Bar
B+ Bus Bar