GM Service Manual Online
For 1990-2009 cars only
Makes
🢒
Chevrolet
🢒
2002
🢒
Astro - 2WD
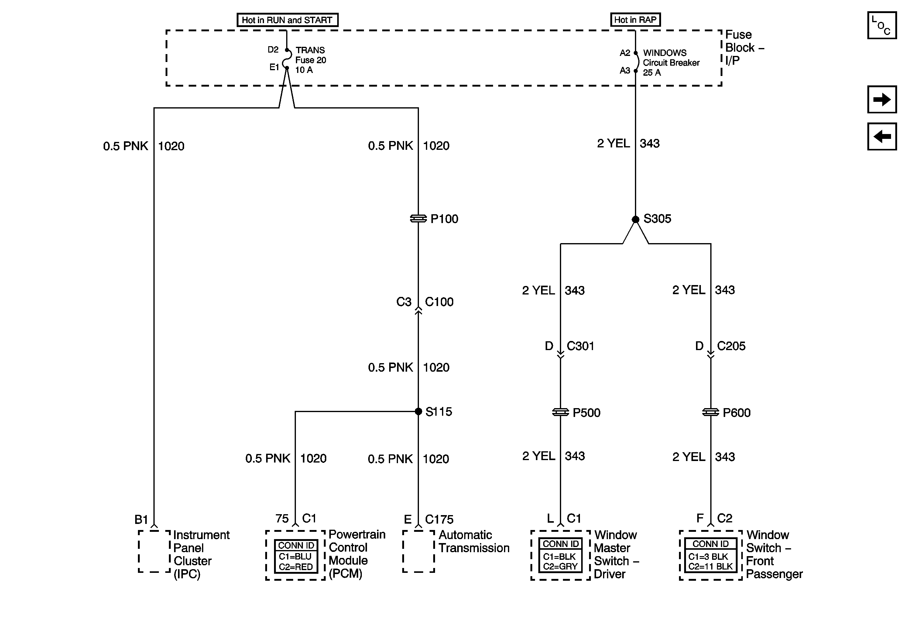
🢒 Trans Fuse, Windows Circuit Breaker
Trans Fuse, Windows Circuit Breaker
Trans Fuse, Windows Circuit Breaker
Master Electrical Component List
Wiper, Radio Accessory, and Rear Wiper Fuses
Gages, Air Bag, Turn, Back-up Fuses