GM Service Manual Online
For 1990-2009 cars only
Makes
🢒
Chevrolet
🢒
2002
🢒
Astro - 2WD
🢒 Rear Blower Controls w/ Rear A/C, Page 2 of 2
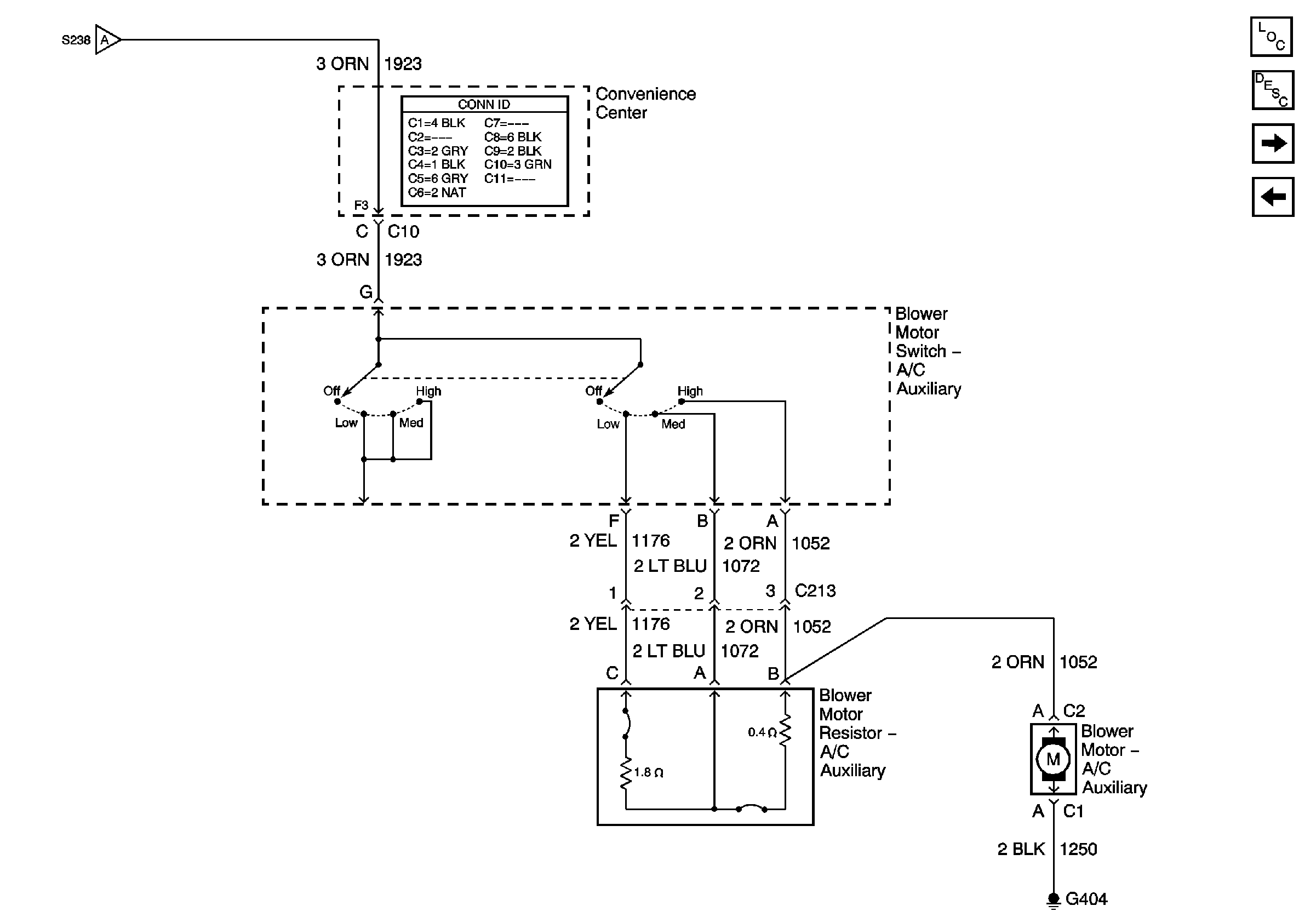
Rear Blower Controls w/ Rear A/C, Page 2 of 2
Rear Blower Controls w/ Rear A/C, Page 2 of 2
Master Electrical Component List
Air Delivery Description and Operation
Compressor Controls
Rear Blower Controls w/ Rear A/C, Page 1 of 2
Rear Blower Controls w/ Rear A/C, Page 1 of 2