GM Service Manual Online
For 1990-2009 cars only
Makes
🢒
Chevrolet
🢒
2002
🢒
Astro - 2WD
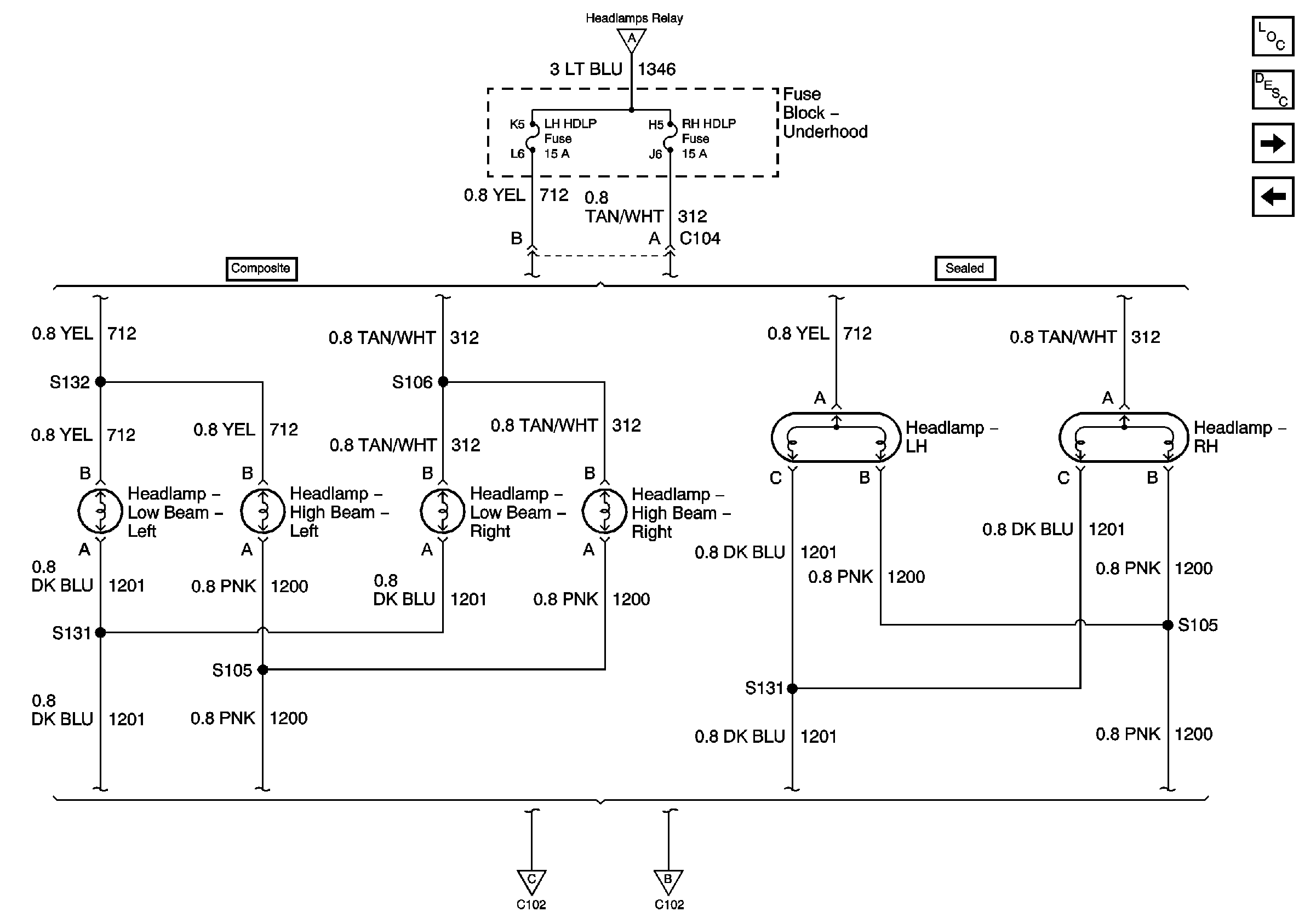
🢒 Sealed Beam Headlamps, Composite Headlamps
Sealed Beam Headlamps, Composite Headlamps
Sealed Beam Headlamps, Composite Headlamps
Master Electrical Component List
Exterior Lighting Systems Description and Operation
DRL Relay and Diode
Headlamp and Panel Dimmer Switch, Ambient Light Sensor
Headlamp and Panel Dimmer Switch, Ambient Light Sensor
DRL Relay and Diode
DRL Relay and Diode