GM Service Manual Online
For 1990-2009 cars only
Makes
🢒
Chevrolet
🢒
2002
🢒
Astro - 2WD
🢒 Backup Lamps
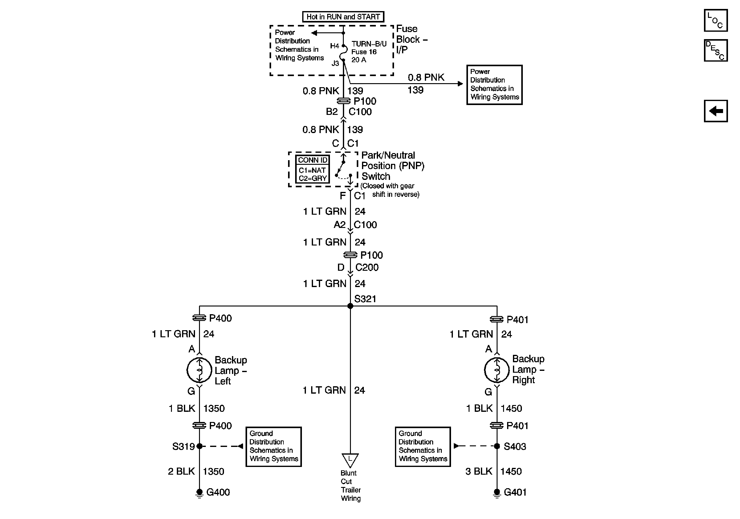
Backup Lamps
Backup Lamps
Master Electrical Component List
Exterior Lighting Systems Description and Operation
Park Lamp Relay
IGN RUN and START Bus Bar
Gages, Air Bag, Turn, Back-up Fuses
G301, G303, G400, and G404
G300, G401, and G403
Trailer Wiring Harness Connections