GM Service Manual Online
For 1990-2009 cars only
Makes
🢒
Chevrolet
🢒
2002
🢒
Astro - 2WD
🢒 Front Door Lamp Options
Front Door Lamp Options
Front Door Lamp Options
Master Electrical Component List
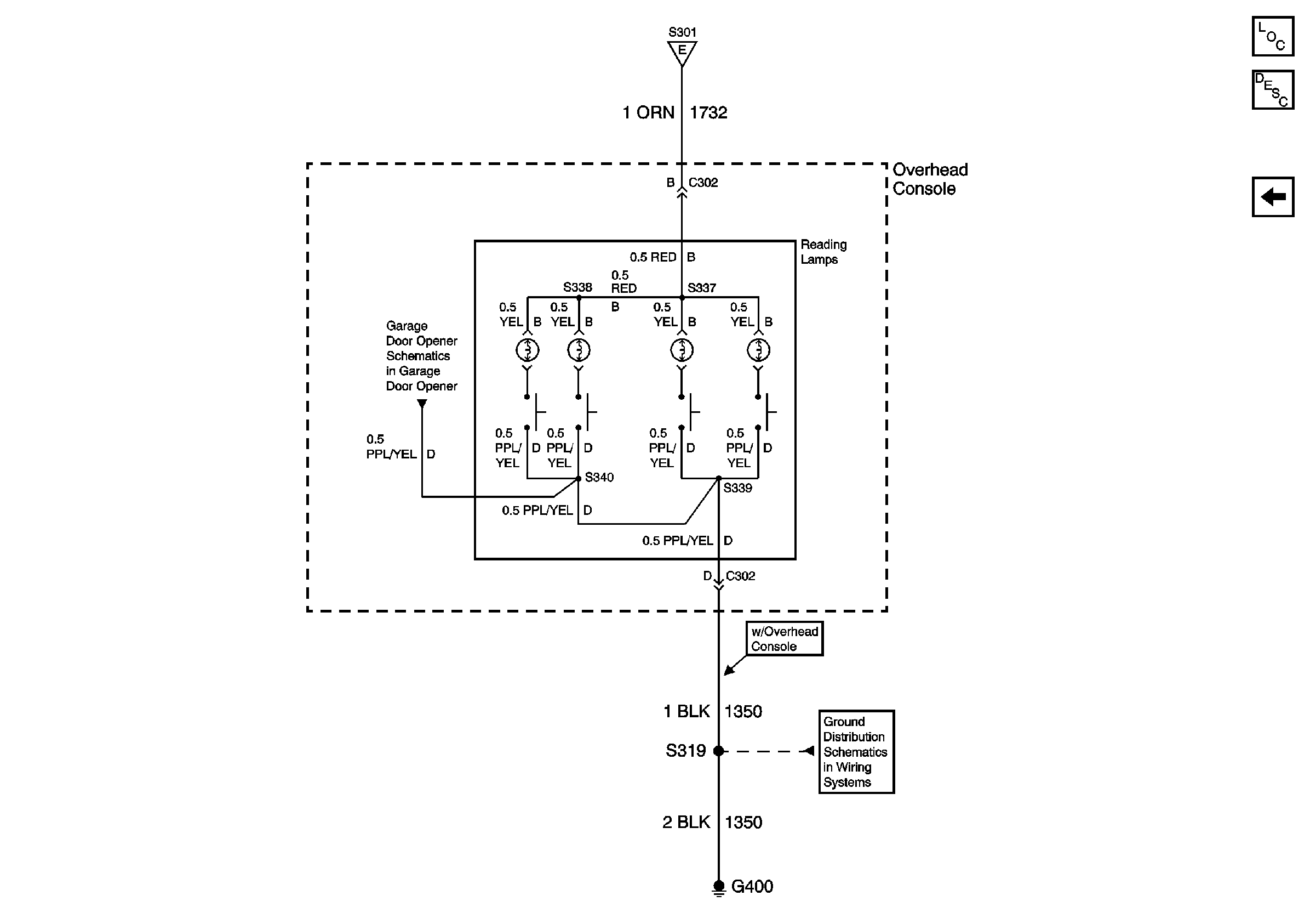
Interior Lighting Systems Description and Operation
Courtesy Lamp Relay, and I/P Compartment Lamp
Courtesy Lamp Relay, and I/P Compartment Lamp
Garage Door Opener
G301, G303, G400, and G404