GM Service Manual Online
For 1990-2009 cars only

Object Number: 30004  Size: MF
Handling ESD Sensitive Parts Notice
Engine Controls Components
EVAP and EGR System
OBD II Symbol Description Notice

Circuit Description

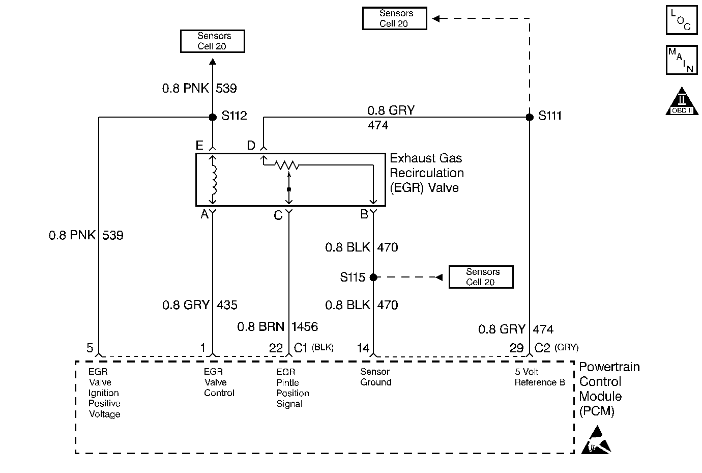
The linear EGR valve is designed to accurately supply exhaust gases to the engine without the use of intake manifold vacuum. The valve controls the exhaust flow going into the intake manifold from the exhaust manifold through an orifice with a PCM controlled pintle. The PCM controls the pintle position using inputs from the Throttle Position (TP) and the Manifold Absolute Pressure (MAP) sensors. The PCM then commands the EGR valve to operate when necessary by controlling a ground signal through the PCM. A scan tool at the Desired EGR Position can monitor this. The ignition voltage is supplied to the EGR valve through a fuse.

The PCM monitors the results of its command through a feedback signal. By sending a 5 volt reference and a ground to the EGR valve, a voltage signal representing the EGR valve pintle position is sent to the PCM. This feedback signal can also be monitored on a scan tool and is the actual position of the EGR pintle. The Actual EGR Position should always be near the commanded or Desired EGR Position .

Conditions for Setting the DTC

    • DTCs P0106, P0107, P0108, P0112, P0113, P0117, P0118, P0121, P0122, P0123, P0125, P0300-P0304, P0335, P0440, P0442, P0446, P0502, P0503, P0506, P0507, and P1441 are not set
    • The engine speed is between 1000 and 2200 RPM for manual transmission.
    • The engine speed is between 900 and 1800 RPM for automatic transmission.
    • The Engine Coolant Temperature (ECT) is greater than 80° C (176° F).
    • The Barometric Pressure (BARO) is greater than 60 kPa.
    • The Manifold Absolute Pressure (MAP) is between 13 and 32 kPa.
    • The Idle Air Control (IAC) hasn't changed more than 4 counts.
    • The Throttle Position is less than 1 %.
    • The vehicle speed is above 20 MPH.
    • The decel EWMA is greater than +2 kPa.

Action Taken When the DTC Sets

    • The Malfunction Indicator Lamp (MIL) will illuminate.
    • The PCM will record operating conditions at the time the diagnostic fails. The Freeze Frame and Failure Records buffers will store this information.
    • A history DTC is stored
    • The EGR Valve is disabled.

Conditions for Clearing the MIL/DTC

    • The malfunction indicator lamp (MIL) will turn OFF after 3 consecutive ignition cycles in which the diagnostic runs without a fault.
    • A history DTC will clear after 40 consecutive warm up cycles without a fault.
    • Use a scan tool to clear the DTCs.

Diagnostic Aids

    • The Decel EWMA (Exponentially Weighted Moving Average) value can be a great aid in determining if a problem exists and to help verify repairs. The Decel EWMA is an average of the difference in the expected MAP change and the actual MAP change caused by opening the EGR valve during a deceleration, and is used in order to determine when the MIL is illuminated. By driving the vehicle up to approximately 60 mph (97 km/h) and decelerating to 20 mph (32 km/h), determine if the EGR system is OK, partially restricted or fully restricted.
    • A more negative number (less than -3) indicates that the system is working normally whereas a positive number indicates that the system is restricted and that the expected amount of EGR flow is incorrect. A number that falls between -3 and + 2 indicates that the system is partially restricted but not restricted enough to fail. The Decel EWMA value should always be a -3 or lower. If the Decel EWMA number becomes more positive (towards 0 or more), then the EGR system is becoming restricted. Look for possible damage to the EGR pipe or for a restriction caused by carbon deposits in the EGR passages or on the EGR valve.

Test Description

The numbers below refer to the step numbers on the diagnostic table.

  1. The Powertrain OBD System Check prompts the technician to complete some basic checks and store the Freeze Frame Data and the Failure Records on the scan tool if applicable. This creates an electronic copy of the data taken when the fault occurs. Refer to this information on the scan tool later.

  2. Commanding the EGR valve open determines whether the EGR system is totally restricted or partially restricted.

  3. Visually and physical inspect the EGR passages and valve for excessive carbon deposits or damage.

  4. Be sure all gasket material is removed from the EGR mounting surface. Even a small amount of material may cause a DTC P0401 to set.

  5. This step verifies if the fault is present and also verifies if a repair corrected the problem. Refer to the Diagnostic Aids for an explanation on Decel EWMA. If the Decel EWMA value stays near 0 or a positive number after several tests have been run, then a small restriction may still exist. Be sure to check the EGR pipe for damage or dents and the EGR valve for any excessive carbon buildup. Only 1 test per ignition cycle will run unless a DTC P0401 has been cleared or the battery has been disconnected.

Step

Action

Value(s)

Yes

No

1

Was the Powertrain On-Board Diagnostic (OBD) System Check performed?

--

Go to Step 2

Go to Powertrain On Board Diagnostic (OBD) System Check

2

  1. Start the engine.
  2. Install a scan tool.
  3. Allow the engine to idle.
  4. Command the EGR valve to the specified value.

Does the engine stall or attempt to stall?

50 %

Go to Step 5

Go to Step 3

3

  1. Turn the engine OFF.
  2. Remove the EGR valve assembly.
  3. Inspect the EGR valve, passages and pipe for a restriction or damage.
  4. Repair as necessary.

Was a repair necessary?

--

Go to Step 5

Go to Step 4

4

Replace the EGR valve. Refer to Exhaust Gas Recirculation Valve Replacement .

Is the action complete?

--

Go to Step 5

--

5

Caution: Perform this step only in an area where the vehicle can operate as described without risk to other vehicles or passengers in order to prevent injury.

  1. Disconnect the battery for the specified time.
  2. Drive the vehicle up to the specified value.
  3. Release the throttle and allow the vehicle to decel to the specified value.

Is the Decel EWMA value greater than the specified value?

10 seconds

60 mph (97 km/h)

20 mph (32 km/h)

0

Go to Step 6

Go to Step 3

6

  1. Using the scan tool, clear the DTCs.
  2. Start the Engine.
  3. Idle until reaching the normal operating temperature.
  4. Operate the vehicle within the conditions for setting this DTC as specified in the supporting text.

Does the scan tool indicate that this diagnostic ran and passed?

--

Go to Step 7

Go to Step 2

7

Check if any additional DTCs are set.

Are any DTCs displayed that have not been diagnosed?

--

Go to the Applicable DTC Table

System OK