GM Service Manual Online
For 1990-2009 cars only
Makes
🢒
Chevrolet
🢒
1997
🢒
Blazer - 2WD
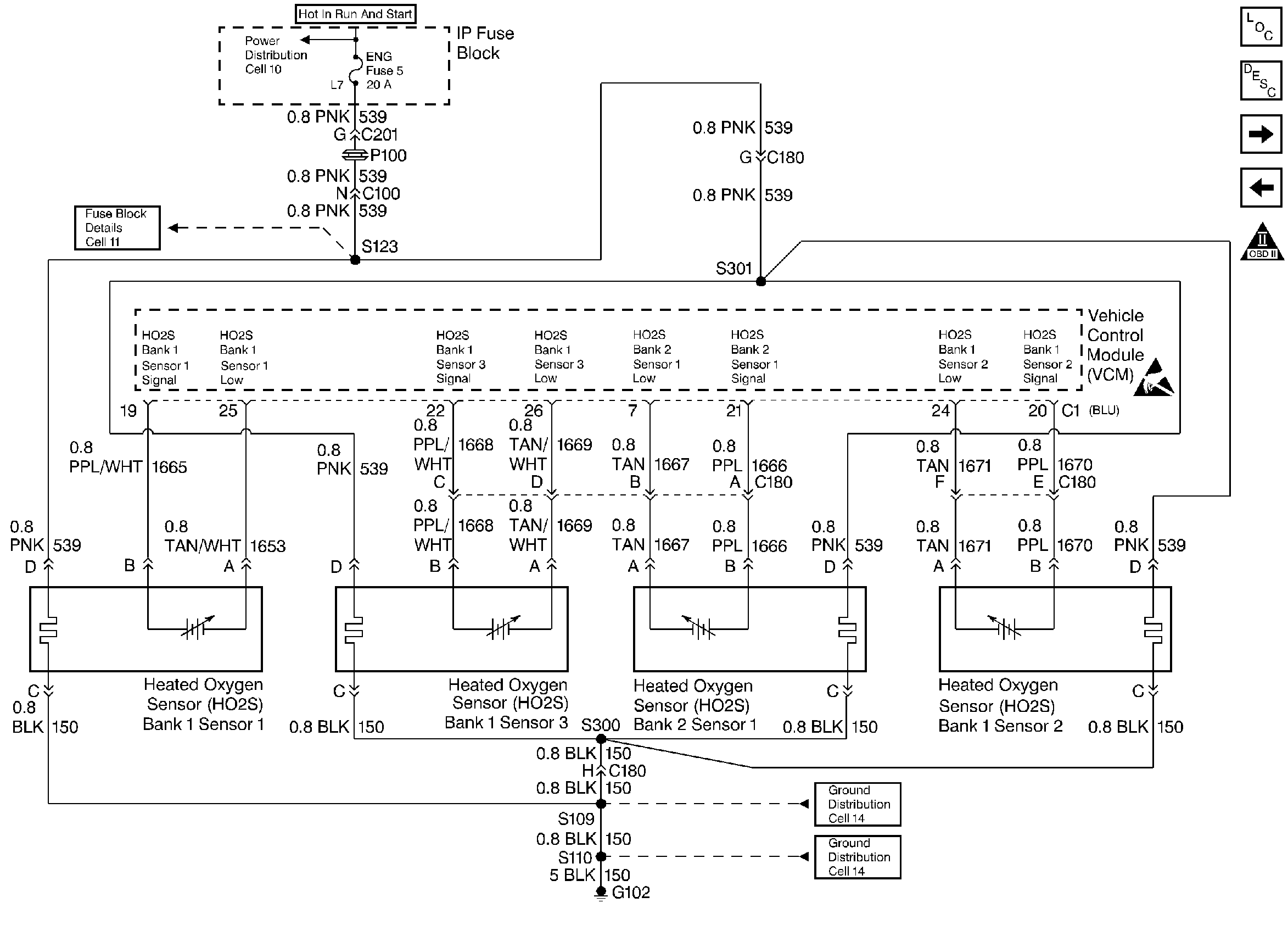
🢒 Heated Oxygen Sensors
Heated Oxygen Sensors
Heated Oxygen Sensors
Handling ESD Sensitive Parts Notice
Engine Controls Components
Information Sensors
Idle Air Control
MAF, EVAP, and the EGR
OBD II Symbol Description Notice