GM Service Manual Online
For 1990-2009 cars only

Object Number: 357941  Size: LF
Body Control Module Components
Cell 51: Passlock Sensor
Power Distribution Schematics
Power Distribution Schematics
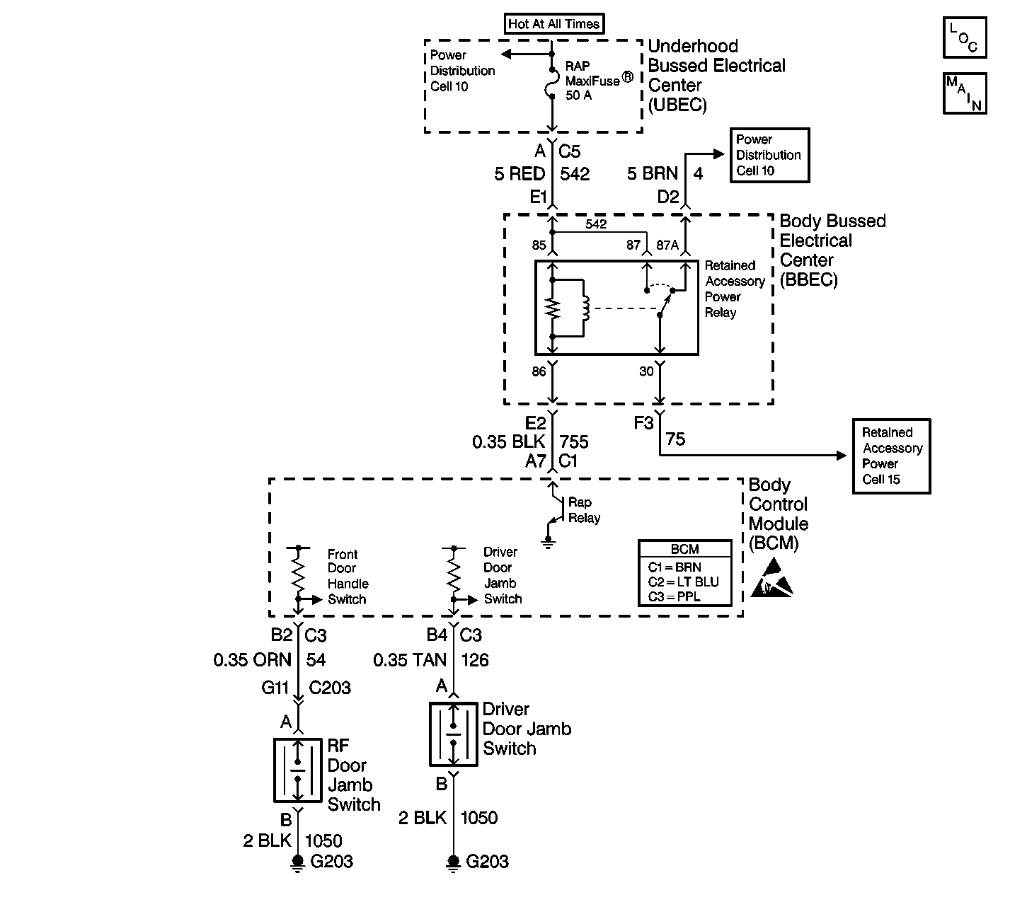
Retained Accessory Power (RAP) Schematics
Handling ESD Sensitive Parts Notice

Circuit Description

The retained accessory power function allows certain systems to operate for 20 minutes after the ignition switch is turned off. Examples of systems that retain power include the following systems:

    • The radio
    • Power windows
    • The sunroof

The BCM monitors the following items:

    • The ignition switch position
    • The mini wedge (door jamb) switches
    • The voltage on CKT 755

The BCM will command the RAP relay to turn on by grounding CKT 755 when the following conditions exist:

    • All of the doors are closed.
    • The ignition switch is in the OFF position.

DTC B1478 will set if the following conditions exist:

    • The BCM detects an open or a short to battery in CKT 755.
    • The RAP relay is commanded ON.

Conditions for Setting the DTC

    • The BCM detects battery voltage on CKT 755 (short to battery) with the ignition switch in the RUN position.
    • The system voltage is between 9.0-16.0 volts.
    • The above conditions exist for 0.5 seconds.

Action Taken When the DTC Sets

The following items will not operate after the ignition switch is turned OFF and all of the doors are closed:

    • The radio
    • Power windows
    • The sunroof

Conditions for Clearing the MIL/DTC

    • DTC B1478 will clear immediately when one of the following actions occurs:
       - The condition that sets the fault is corrected with the ignition in the RUN position.
       - The next ignition cycle starts.
    • A history DTC will clear after 100 consecutive ignition cycles without a fault present.
    • History and current DTCs can be cleared using a scan tool.

Diagnostic Aids

    • Always diagnose the first current DTC that is listed on the scan tool.
    • Verify that the scan tool displays DTC B1478 as a current code before you perform diagnostics.
    • Inspect the wiring, terminals, and connectors for loose or poor connections at all of the related components.
    • Refer to Wiring Systems for intermittent and poor connections.

Test Description

The numbers below refer to the step numbers on the diagnostic table.

  1. This step determines if the RAP relay coil is shorted.

  2. This step determines if one of the following conditions exists:

  3. • CKT 755 (BLK) is shorted to battery.
    • The BCM is shorted internally.

Step

Action

Value(s)

Yes

No

1

Was the BCM Diagnostic System Check performed?

--

Go to Step 2

Go to Diagnostic System Check - Body Control System

2

  1. Turn the ignition switch to the RUN position.
  2. Use a scan tool in order to monitor the current DTCs.
  3. Remove the RAP relay.

Does the scan tool display DTC B1478?

--

Go to Step 3

Go to Step 6

3

  1. Turn the ignition switch to the RUN position.
  2. Disconnect BCM connector C1 (BRN). Remove the comb from the connector.
  3. Use a J 39200 digital multimeter (DMM) in order to backprobe between CKT 755 (BLK) cavity A7 and ground.

Is the voltage greater than the specified value?

10 V

Go to Step 4

Go to Step 5

4

Locate and repair the short to battery in CKT 755 (BLK) between the BCM and the RAP relay.

Is the repair complete?

--

Go to Step 7

--

5

  1. Replace the BCM.
  2. Program the correct calibrations into the BCM.
  3. Perform the learn procedure.

Is the repair complete?

--

Go to Step 7

--

6

Replace the RAP relay.

Is the repair complete?

--

Go to Step 7

--

7

Clear the DTCs.

Is the repair complete?

--

Go to Diagnostic System Check - Body Control System

--