GM Service Manual Online
For 1990-2009 cars only
Makes
🢒
Chevrolet
🢒
2000
🢒
Blazer - 2WD
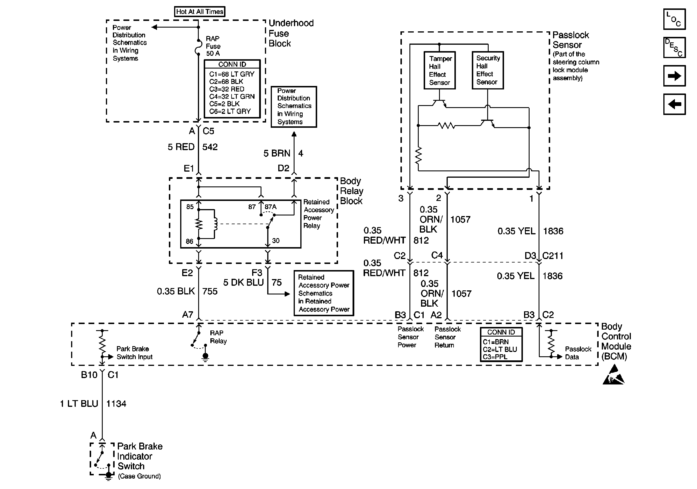
🢒 RAP Fuse, and Relay and Passlock ™ Sensor
RAP Fuse, and Relay and Passlock ™ Sensor
RAP Fuse, and Relay and Passlock⢠Sensor
Body Control Module Components
Body Control System Circuit Description
VCM/PCM Speed Signal and Ambient Light Sensor
Horn Relay
B+ Bus Bar
Power and Grounding Connector End Views
RAP, IGN B Fuses and Ignition Switch
RAP Relay and Ignition Switch
Body Control System Connector End Views
Handling ESD Sensitive Parts Notice