GM Service Manual Online
For 1990-2009 cars only
Makes
🢒
Chevrolet
🢒
2000
🢒
Blazer - 2WD
🢒 Fuel Injection Controls
Fuel Injection Controls
Fuel Injection Controls
Engine Controls Components
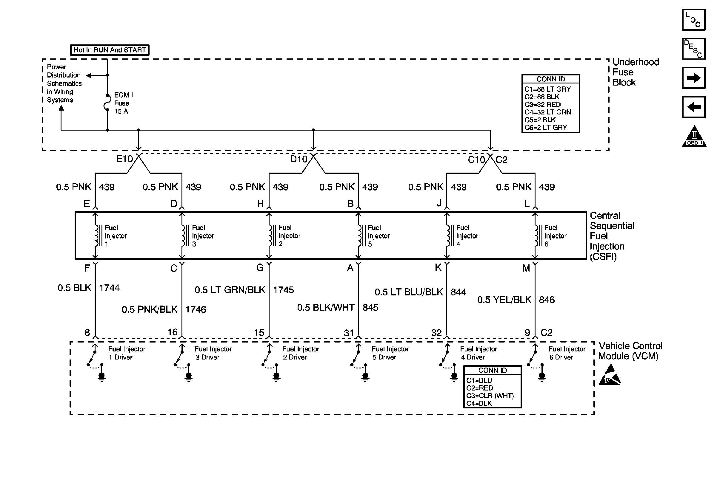
Central Sequential Duel Injection Fuel System Description
EGR and EVAP Valves
Fuel Pump Controls
OBD II Symbol Description Notice
ECM I Fuse
Power and Grounding Connector End Views
VCM Connector End Views
Handling ESD Sensitive Parts Notice