GM Service Manual Online
For 1990-2009 cars only
Makes
🢒
Chevrolet
🢒
2000
🢒
Blazer - 2WD
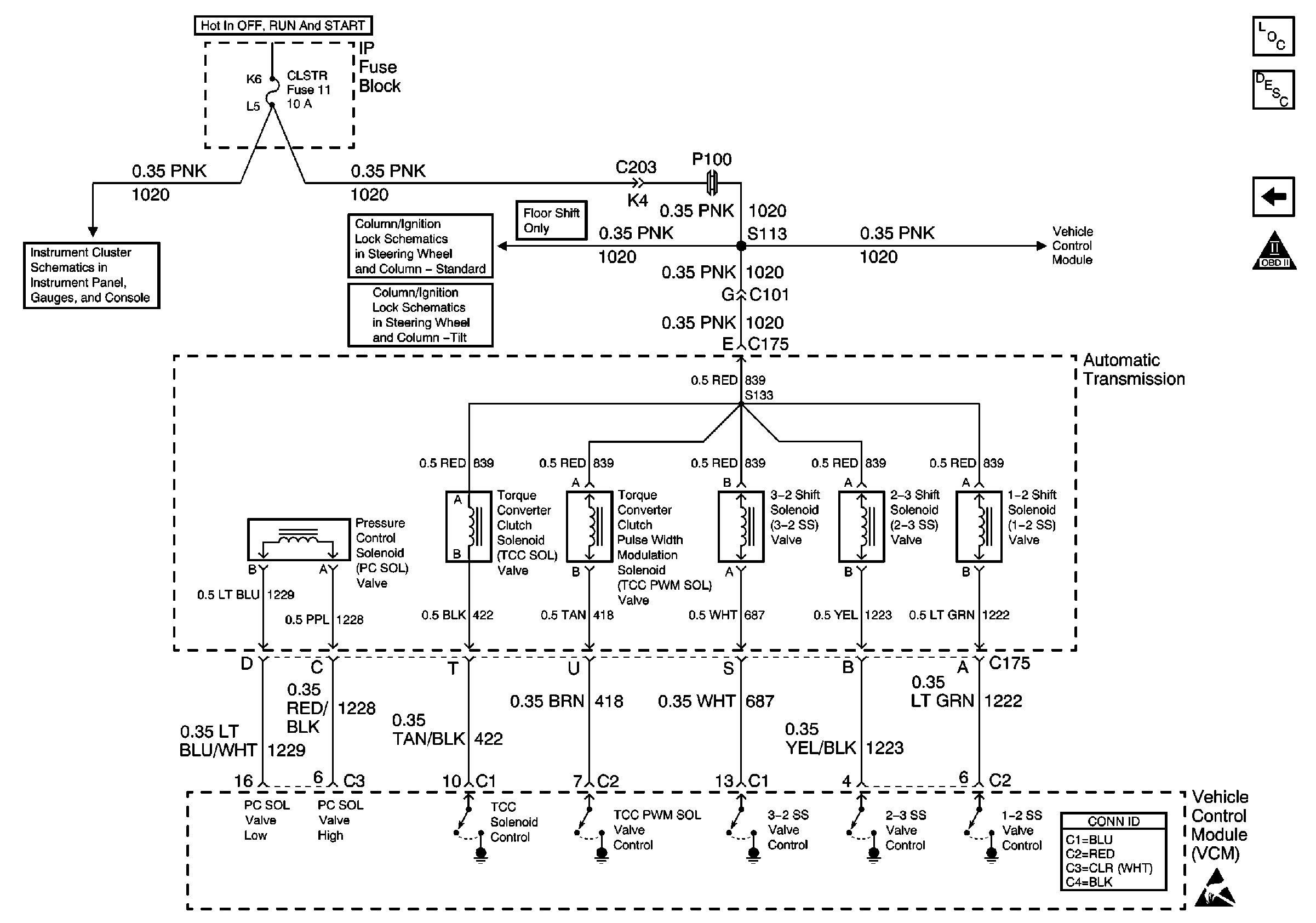
🢒 Automatic Transmission Valve Controls
Automatic Transmission Valve Controls
Automatic Transmission Valve Controls
Engine Controls Components
Vehicle Control Module Description
Automatic Transmission and PNP Switch Inputs
OBD II Symbol Description Notice
Power
Column/Ignition Lock Schematics
Column/Ignition Lock Schematics
CLSTR and 4WD Fuses
VCM Connector End Views
Handling ESD Sensitive Parts Notice