GM Service Manual Online
For 1990-2009 cars only
Makes
🢒
Chevrolet
🢒
2000
🢒
Blazer - 2WD
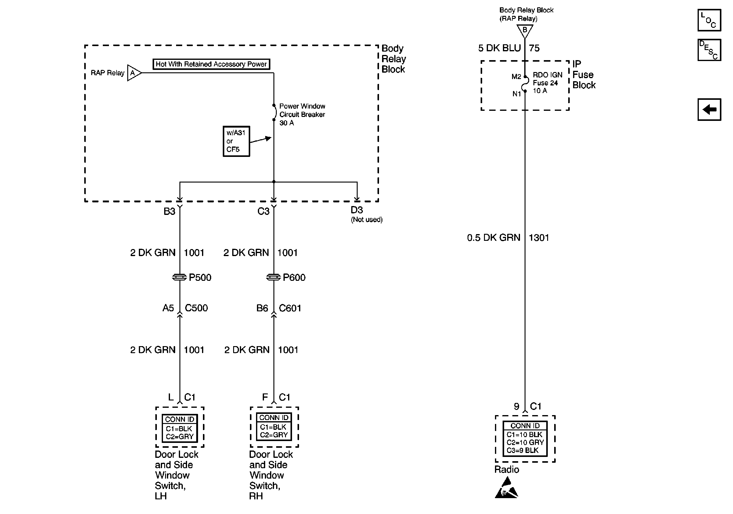
🢒 Radio and Door Lock and Side Window Switches
Radio and Door Lock and Side Window Switches
Radio and Door Lock and Side Window Switches
Retained Accessory Power (RAP) Components
Retained Accessory Power (RAP) Circuit Description
RAP Relay and Ignition Switch
RAP Relay and Ignition Switch
RAP Relay and Ignition Switch
Power Door Systems Connector End Views
Power Door Systems Connector End Views
Entertainment Connector End Views
Handling ESD Sensitive Parts Notice