GM Service Manual Online
For 1990-2009 cars only
Makes
🢒
Chevrolet
🢒
2001
🢒
Blazer - 2WD
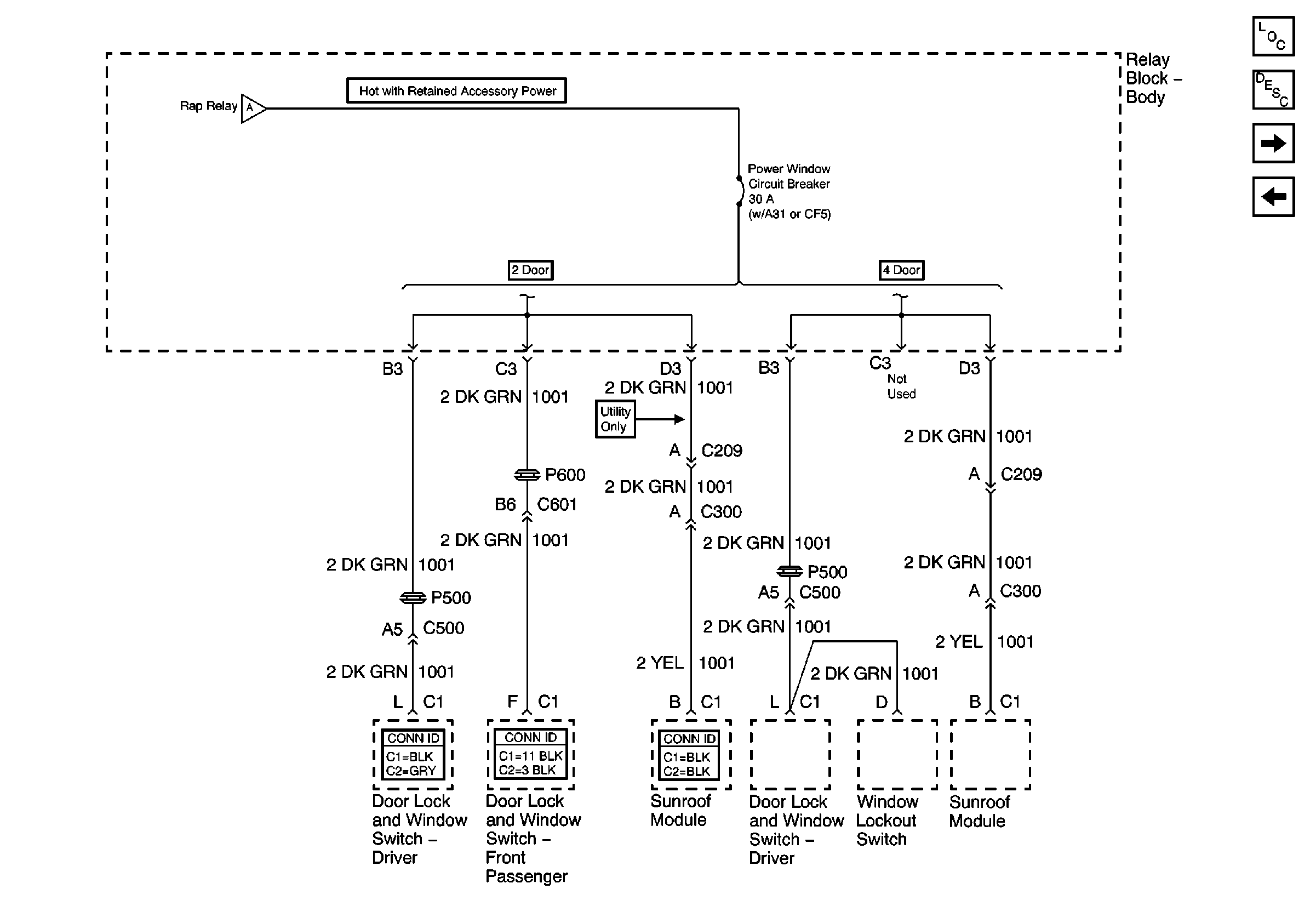
🢒 Door Lock and Window Switches
Door Lock and Window Switches
Door Lock and Window Switches
Master Electrical Component List
Retained Accessory Power (RAP) Description and Operation
RDO IGN and STR WHL RDO IGN Fuses
RAP Relay and Ignition Switch
RAP Relay and Ignition Switch