GM Service Manual Online
For 1990-2009 cars only
Makes
🢒
Chevrolet
🢒
2001
🢒
Blazer - 2WD
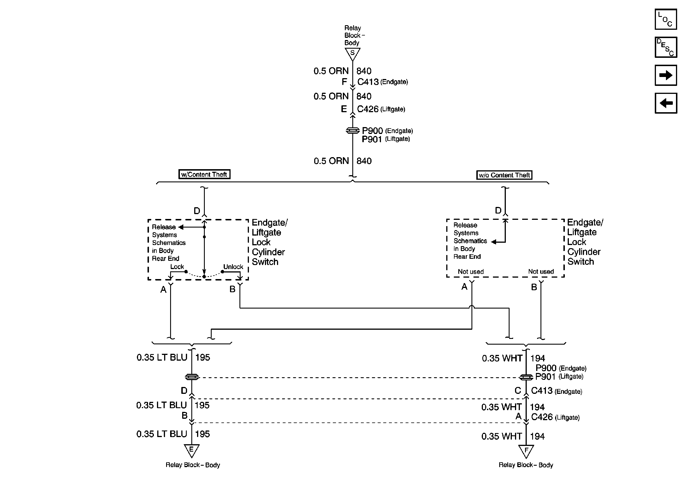
🢒 Liftgate/Endgate Lock Cylinder Switch Inputs (Utility)
Liftgate/Endgate Lock Cylinder Switch Inputs (Utility)
Liftgate/Endgate Lock Cylinder Switch Inputs (Utility)
Master Electrical Component List
Power Door Locks Description and Operation
BCM Inputs and Outputs
Door Lock Switch Inputs
Door Lock Switch Inputs
Output
Output
Relay Control
Relay Control