GM Service Manual Online
For 1990-2009 cars only
Makes
🢒
Chevrolet
🢒
2001
🢒
Blazer - 2WD
🢒 Output
Output
Output
Master Electrical Component List
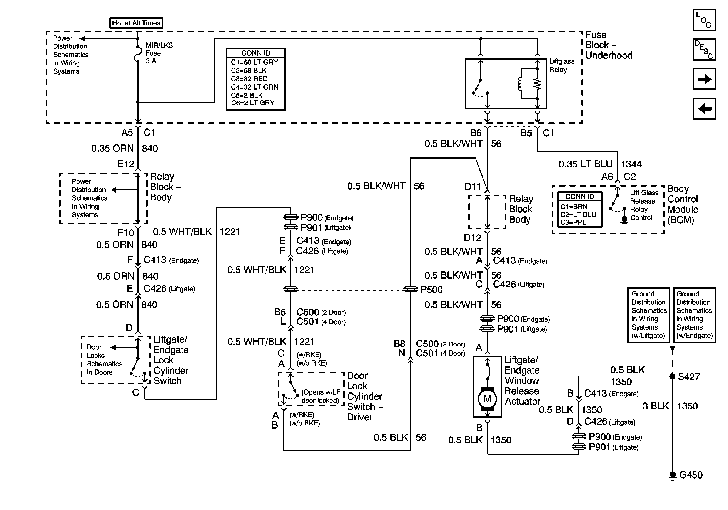
Rear Hatch/Gate Description and Operation General
Gate Ajar Indicator
Input
B+ Bus Bar
MIR/LKS, FOG LP Fuses and DRL, Headlamp Power Relays
Liftgate/Endgate Lock Cylinder Switch Inputs (Utility)
G420 and G450 (Utility w/ Liftgate)
G420,G450 and S427 (Utility w/ Endgate and Crew Cab)