GM Service Manual Online
For 1990-2009 cars only
Makes
🢒
Chevrolet
🢒
2001
🢒
Blazer - 2WD
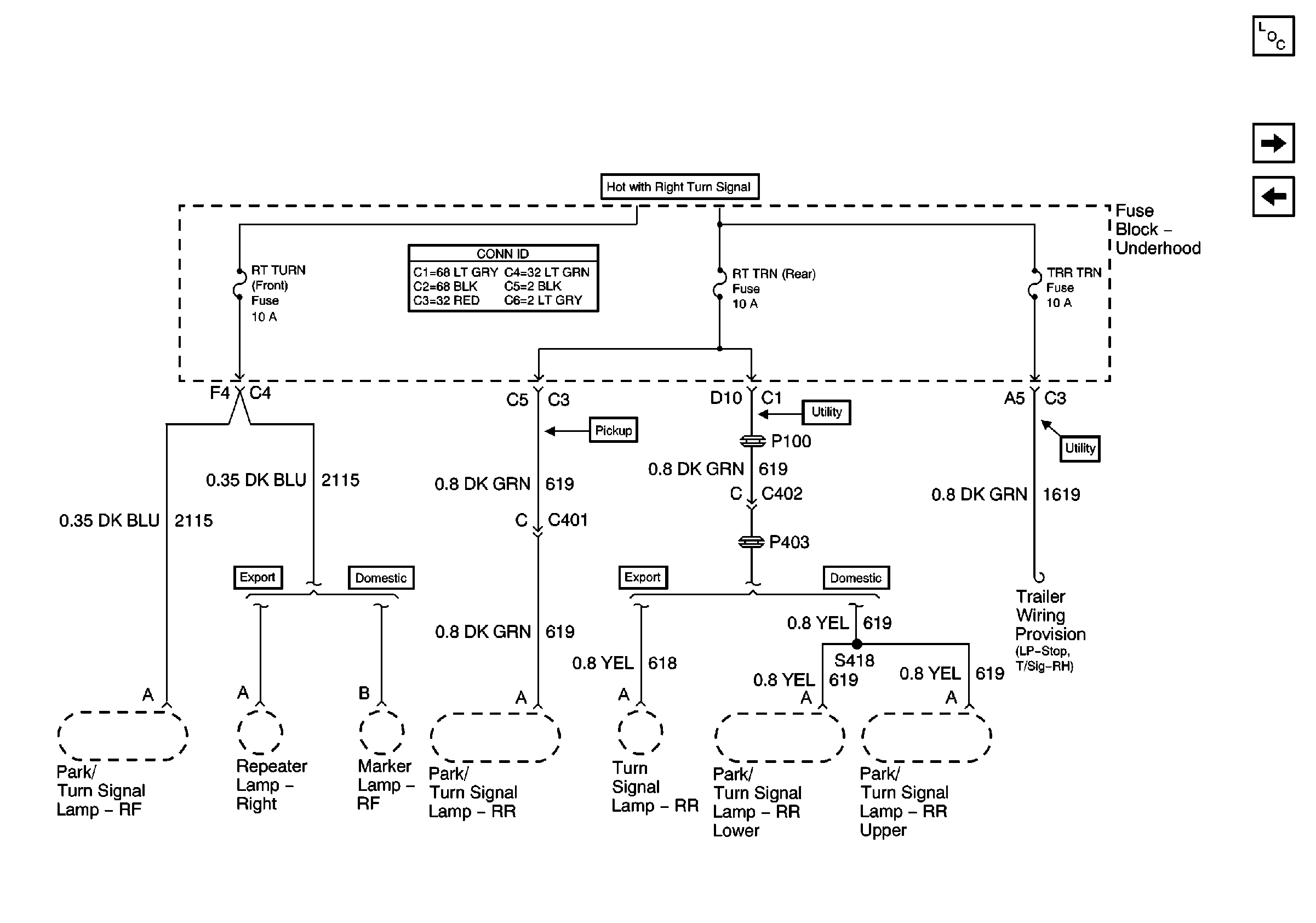
🢒 RT TURN, RT TRN and TRR TRN Fuses
RT TURN, RT TRN and TRR TRN Fuses
RT TURN, RT TRN and TRR TRN Fuses
Master Electrical Component List
LT TURN, LT TRN and TRL TRN Fuses
VECHMSL, TRCHMSL Fuses and CHMSL Relay