GM Service Manual Online
For 1990-2009 cars only
Makes
🢒
Chevrolet
🢒
2001
🢒
Blazer - 2WD
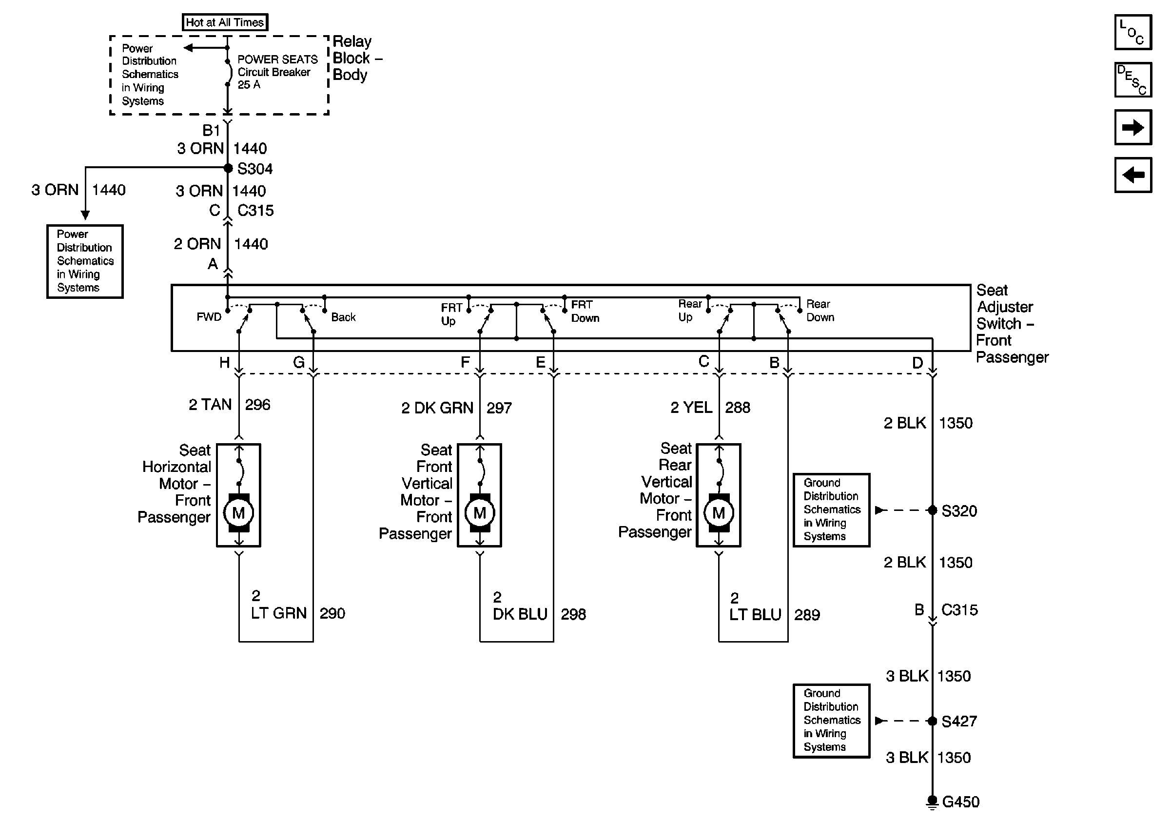
🢒 6-Way RH Power Seat
6-Way RH Power Seat
6-Way RH Power Seat
Master Electrical Component List
Power Seats System Description and Operation
8-Way LH Power Seat
6-Way LH Power Seat
Ign ACC, RUN and RAP Bus Bar
Power Seats, Power Windows Circuit Breakers and RAP Relay
S320 and S420
G420,G450 and S427 (Utility w/ Endgate and Crew Cab)