GM Service Manual Online
For 1990-2009 cars only
Makes
🢒
Chevrolet
🢒
2001
🢒
Blazer - 2WD
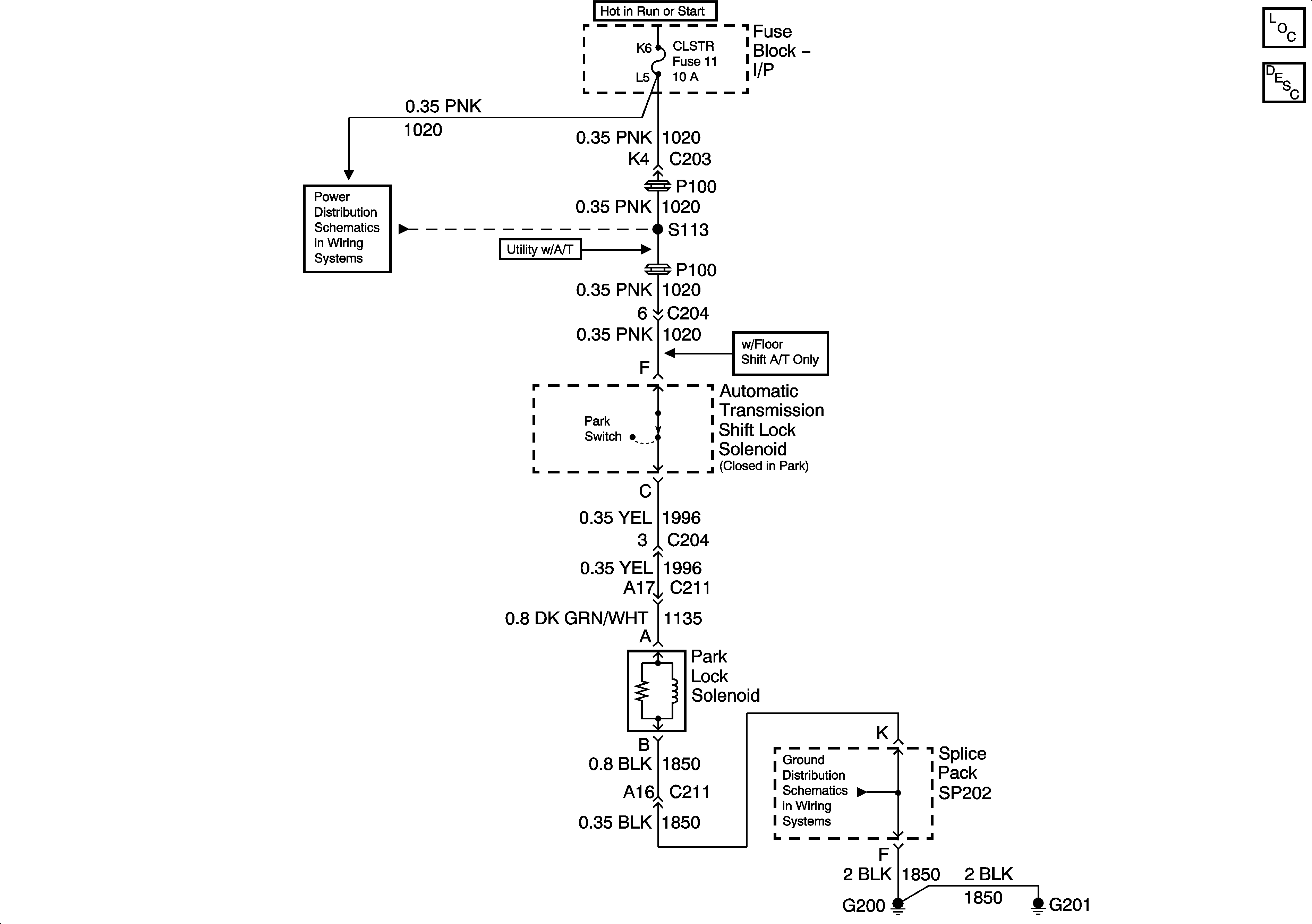
🢒 Column/Ignition Lock Schematics (Standard)
Column/Ignition Lock Schematics (Standard)
Master Electrical Component List
Steering Wheel and Column - Standard Description and Operation
CRANK and CLSTR Fuses
G200, G201 and G207 (Pickup and Crew Cab)