GM Service Manual Online
For 1990-2009 cars only
Makes
🢒
Chevrolet
🢒
2001
🢒
Blazer - 2WD
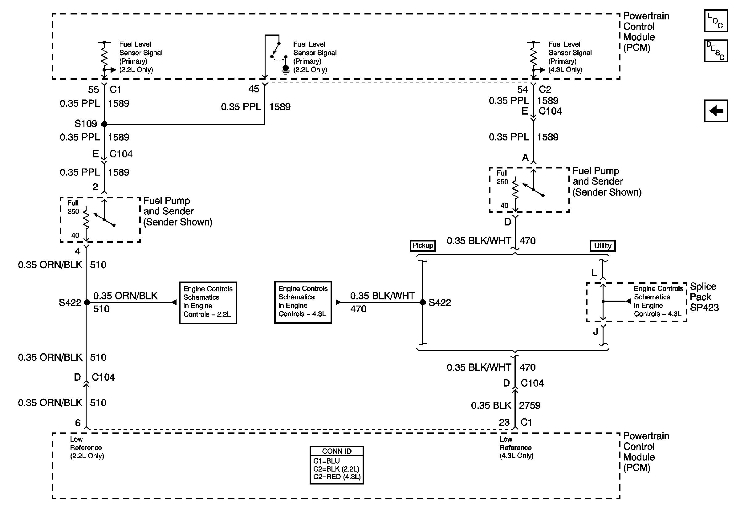
🢒 Fuel Level Sensor Signal
Fuel Level Sensor Signal
Fuel Level Sensor Signal
Master Electrical Component List
Instrument Cluster Description and Operation
Gauges