GM Service Manual Online
For 1990-2009 cars only
Makes
🢒
Chevrolet
🢒
2005
🢒
Blazer - 2WD
🢒 ILLUM Power - Pickup Except Crew Cab
ILLUM Power - Pickup Except Crew Cab
ILLUM Power - Pickup Except Crew Cab
Master Electrical Component List
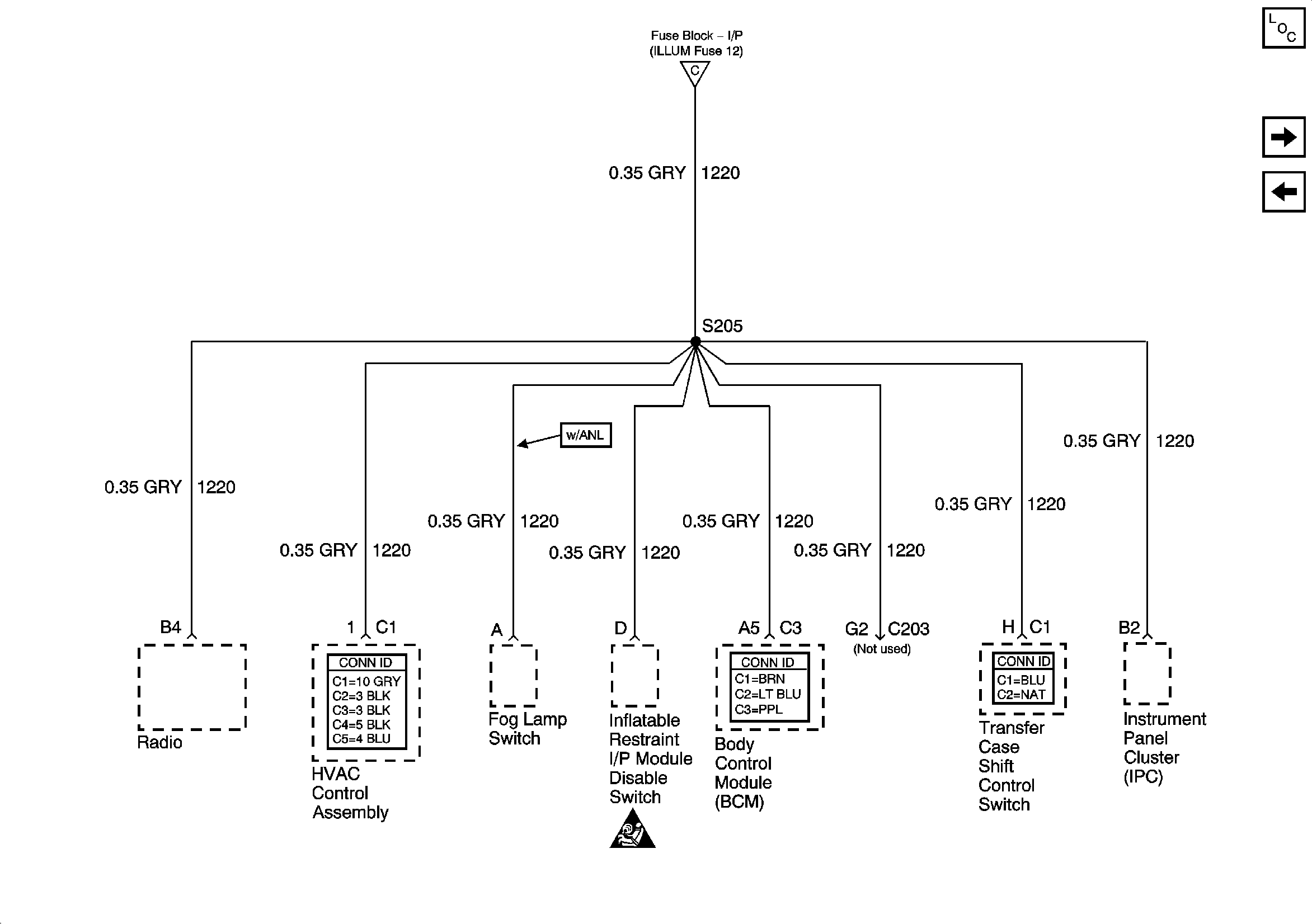
ILLUM Power - Utility
ILLUM, STG WHL ILLUM, and PARK LP Fuses
ILLUM, STG WHL ILLUM, and PARK LP Fuses
SIR Caution for Zoning