GM Service Manual Online
For 1990-2009 cars only
Makes
🢒
Chevrolet
🢒
2005
🢒
Blazer - 2WD
🢒 ILLUM Power - Utility
ILLUM Power - Utility
ILLUM Power - Utility
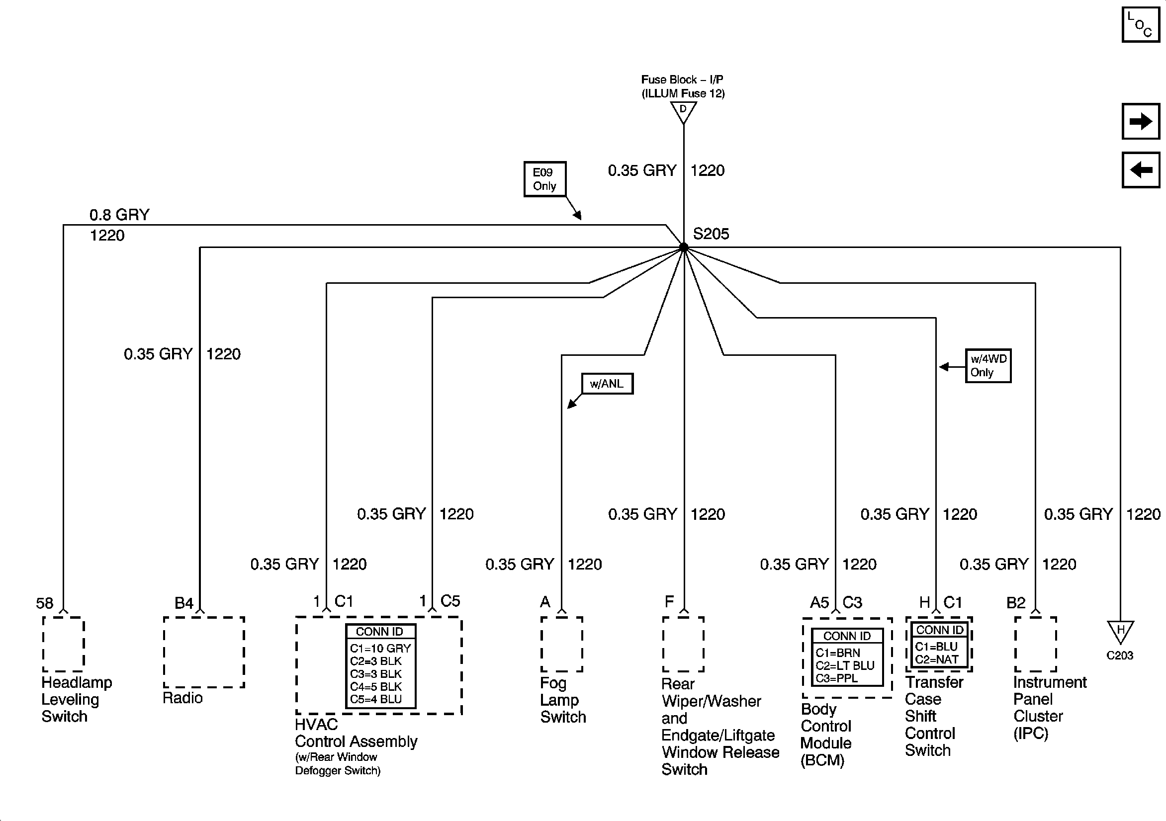
Master Electrical Component List
Splice Pack SP206
ILLUM Power - Pickup Except Crew Cab
ILLUM, STG WHL ILLUM, and PARK LP Fuses
ILLUM Power - 2-Door Utility, 4-Door Utility and Crew Cab