GM Service Manual Online
For 1990-2009 cars only
Makes
🢒
Chevrolet
🢒
2005
🢒
Blazer - 2WD
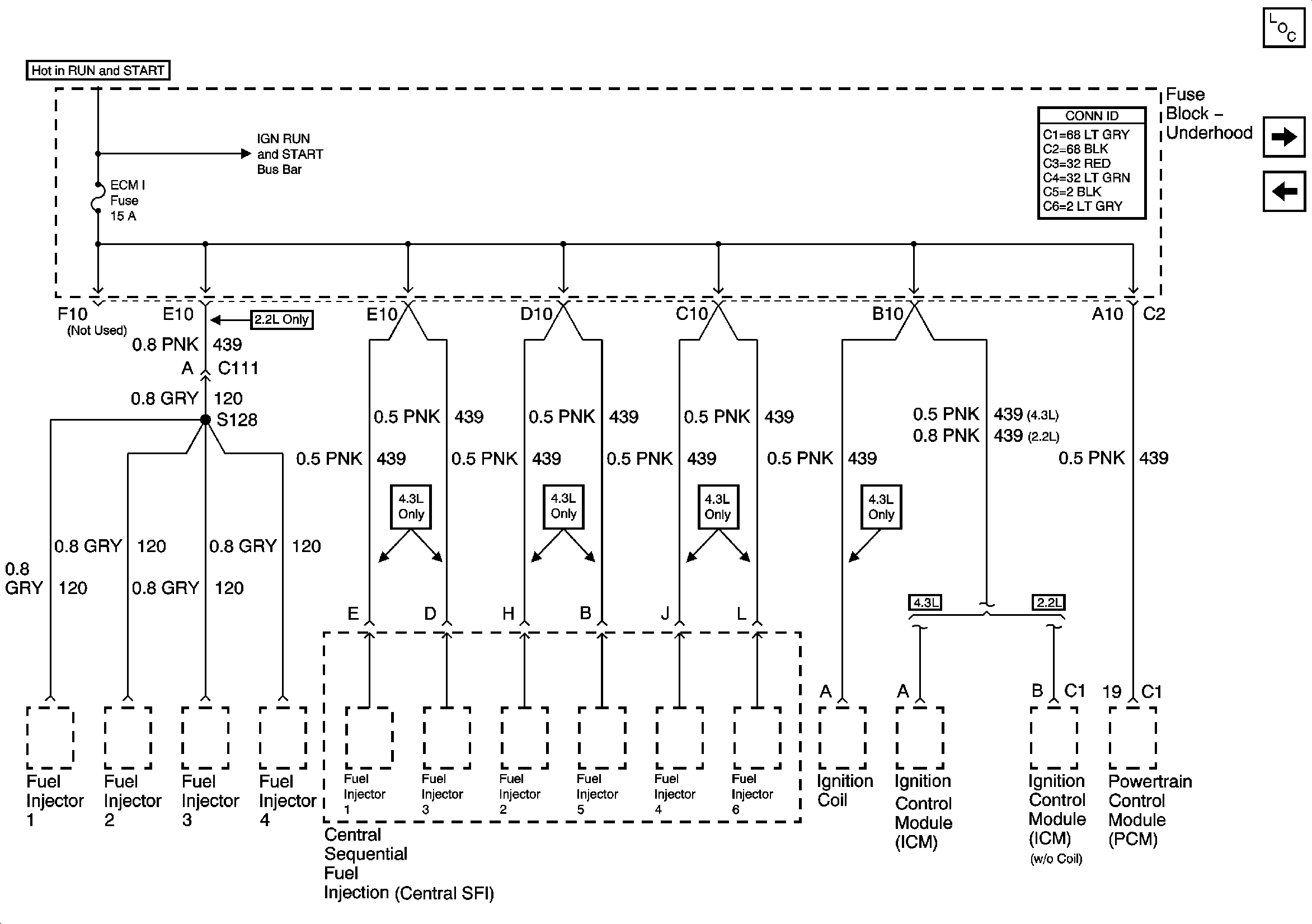
🢒 ECM I Fuse
ECM I Fuse
ECM I Fuse
Master Electrical Component List
RDO IGN and STR WHL RDO IGN Fuses
ENG I and OXYSEN Fuses
Ign RUN and START Bus Bar