GM Service Manual Online
For 1990-2009 cars only
Makes
🢒
Chevrolet
🢒
2005
🢒
Blazer - 2WD
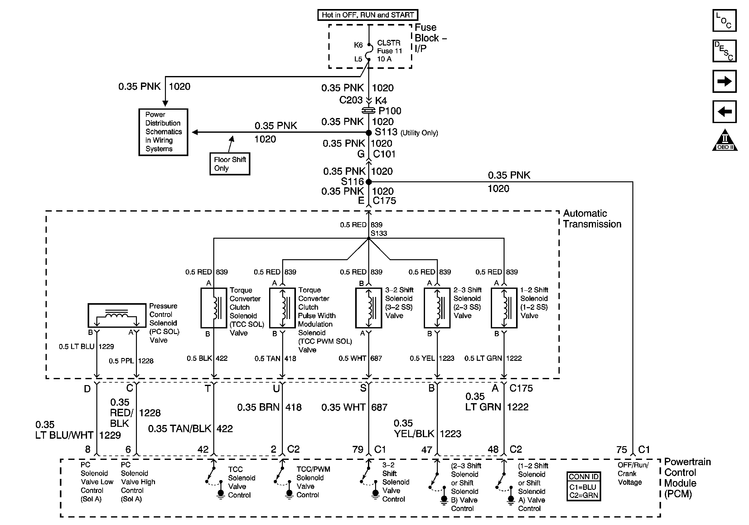
🢒 Valve Controls - 4.3L
Valve Controls - 4.3L
Valve Controls - 4.3L
Master Electrical Component List
Electronic Component Description
Switch Inputs and PNP Switch - 4.3L
Brake Switch, VSS Inputs - 2.2L
OBD II Symbol Description Notice
CRANK and CLSTR Fuses
CRANK and CLSTR Fuses