GM Service Manual Online
For 1990-2009 cars only
Makes
🢒
Chevrolet
🢒
2005
🢒
Blazer - 2WD
🢒 Power and Ground
Power and Ground
Power and Ground
Master Electrical Component List
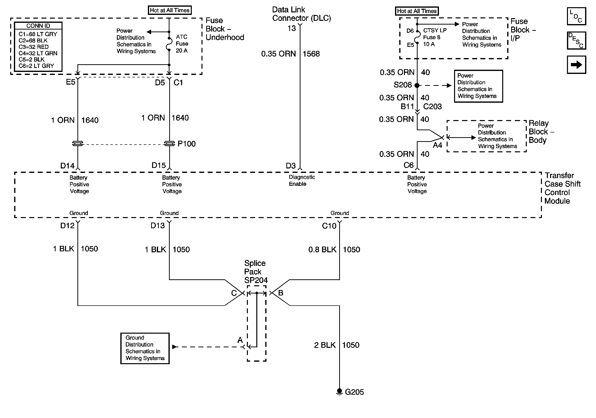
Transfer Case Description and Operation
Transfer Case Shift Control Switch
B+ Bus Bar
INT BATT, PWR LKS, AMPF, CTSY LP and CIGAR LTR Fuses
Inadvertent Power Relay
Inadvertent Power Relay
G205 - Utility and Crew Cab