GM Service Manual Online
For 1990-2009 cars only
Makes
🢒
Chevrolet
🢒
2000
🢒
Blazer - 4WD - RHD
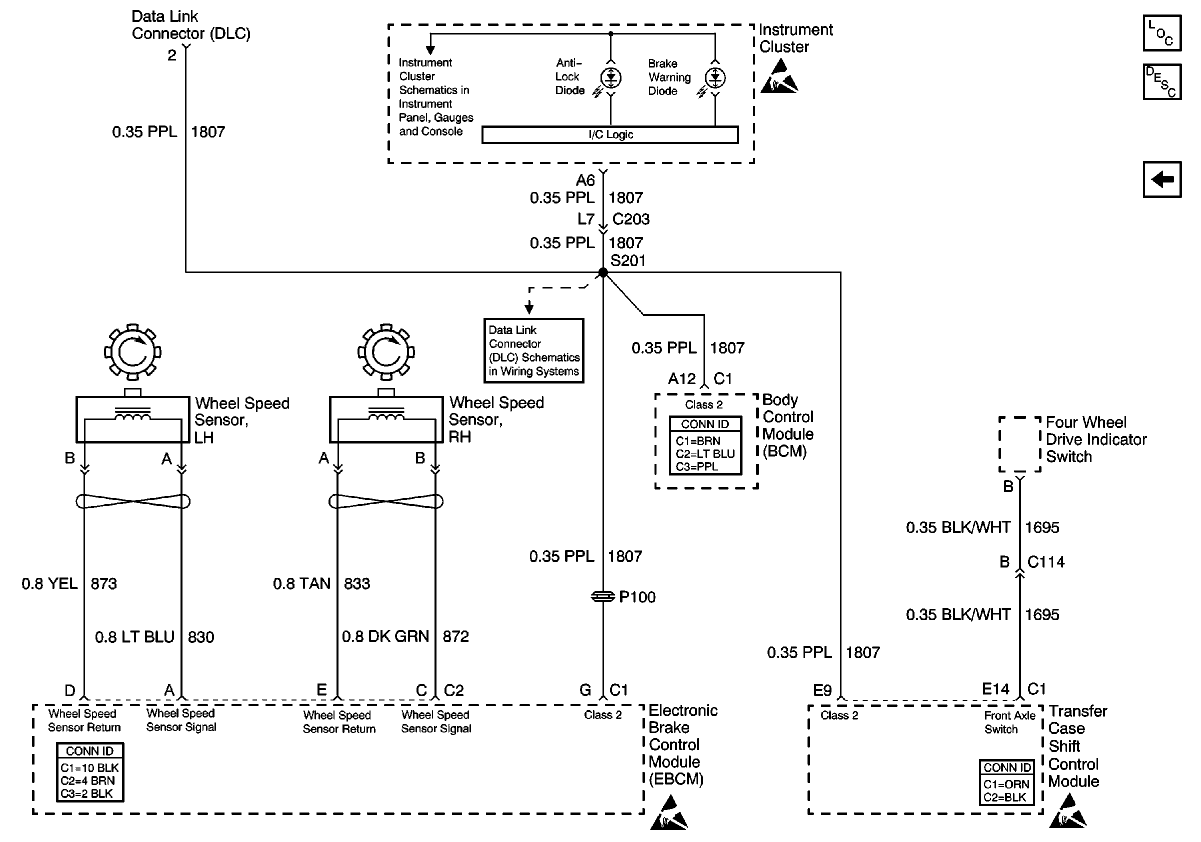
🢒 Power, Ground and Wheel Speed Sensors
Power, Ground and Wheel Speed Sensors
Power, Ground and Wheel Speed Sensors
ABS Components
ABS Description
EBCM Power and Ground
Data Link Connector (DLC), VCM and Engine Oil Pressure Gauge Sensor
Handling ESD Sensitive Parts Notice
S201
Body Control System Connector End Views
Antilock Brake System Connector End Views
Handling ESD Sensitive Parts Notice
Transfer Case Control Connector End Views
Handling ESD Sensitive Parts Notice