GM Service Manual Online
For 1990-2009 cars only
Makes
🢒
Chevrolet
🢒
2000
🢒
Blazer - 4WD - RHD
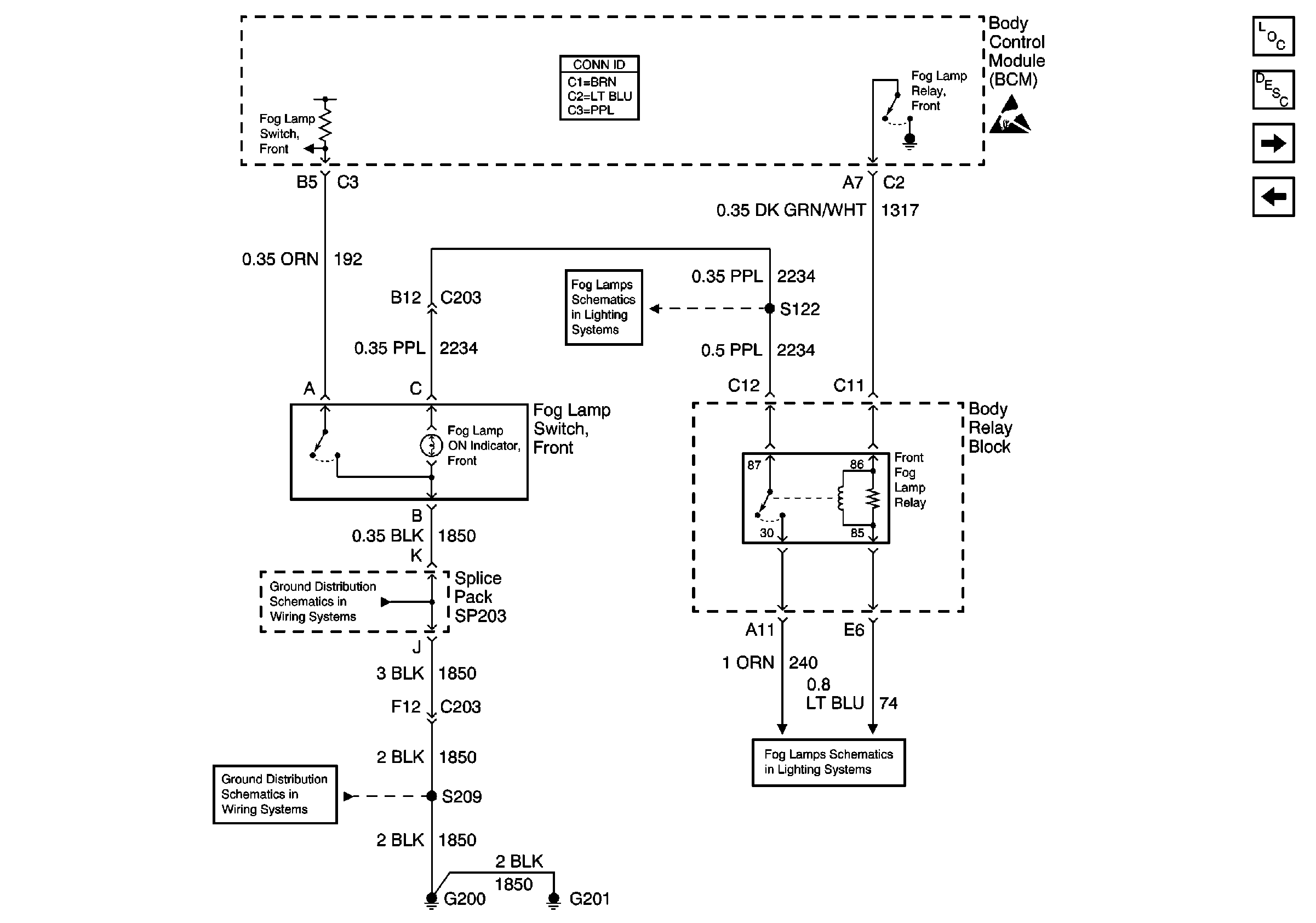
🢒 Front Fog Lights
Front Fog Lights
Front Fog Lights
Body Control Module Components
Body Control System Circuit Description
Rear Fog Lights
Power Locks
Body Control System Connector End Views
Handling ESD Sensitive Parts Notice
Fog Lamp Relay, Front
SP203
G200 and G201
Fog Lamp Relay, Front