GM Service Manual Online
For 1990-2009 cars only
Makes
🢒
Chevrolet
🢒
2000
🢒
Blazer - 4WD - RHD
🢒 Power and Ground
Power and Ground
Power and Ground
Power Door Systems Components
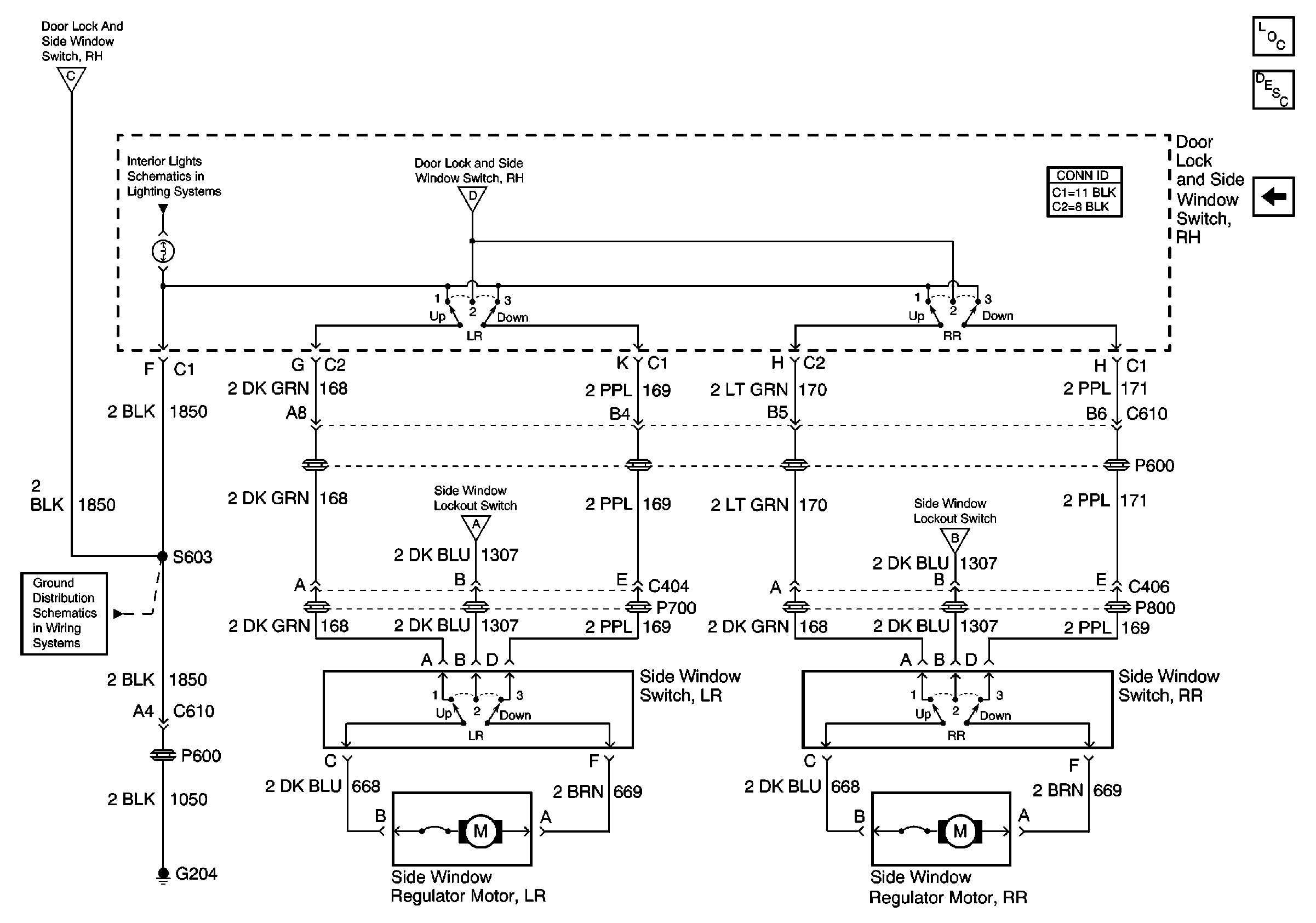
Power Windows Circuit Description
Power Distribution
Power Distribution
G202 and G204
Power Distribution
Power Distribution
Power Door Systems Connector End Views
Power Distribution