GM Service Manual Online
For 1990-2009 cars only
Makes
🢒
Chevrolet
🢒
2000
🢒
Blazer - 4WD - RHD
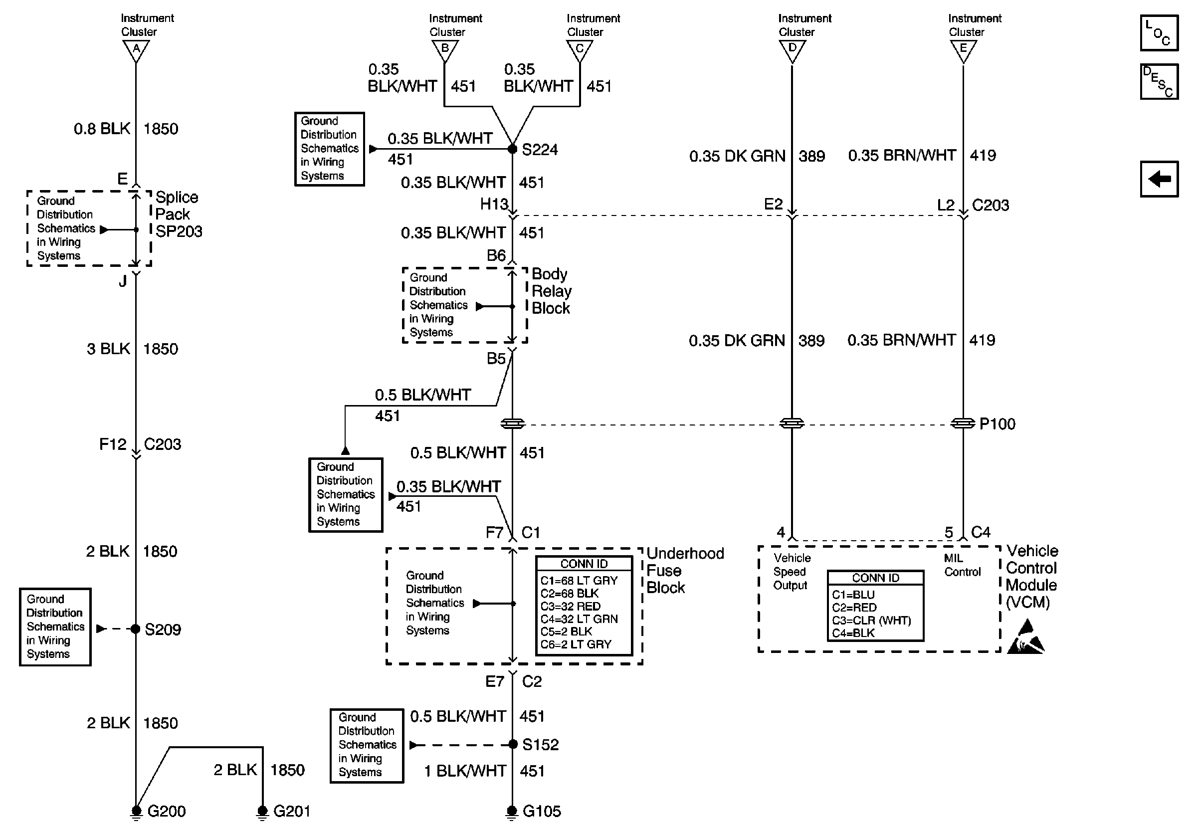
🢒 Ground and VCM
Ground and VCM
Ground and VCM
Instrument Cluster Components
Instrument Cluster Description
Data Link Connector (DLC), VCM and Engine Oil Pressure Gauge Sensor
Power
Power
Power
Power
Power
G103 and G105
G103 and G105
G103 and G105
G200 and G201
G103 and G105
G103 and G105
G103 and G105
Power and Grounding Connector End Views
VCM Connector End Views
Handling ESD Sensitive Parts Notice