GM Service Manual Online
For 1990-2009 cars only

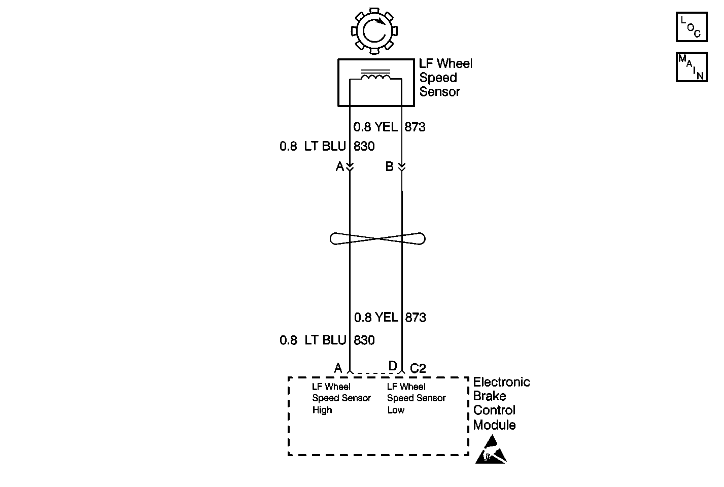
Object Number: 366411  Size: MF
ABS Components
Power, Ground and Wheel Speed Sensors

Circuit Description

The wheel speed sensor coil emits an electromagnetic field. A toothed ring on the wheel passes by the wheel speed sensor and disrupts its electromagnetic field. The disruption in the field causes the wheel speed sensor to produce a sinusoidal (AC) voltage signal. The frequency and amplitude of the sinusoidal (AC) voltage signal are proportional to the speed of the wheel. The amplitude of the wheel speed signal is also directly related to the distance between the wheel speed sensor coil and the toothed ring. This distance is referred to as the air gap.

Conditions for Running the DTC

    • Ignition switch in the RUN position.
    • Vehicle speed greater than 13 km/h (8 mph).

Conditions for Setting the DTC

    • No output signal from the left front wheel speed sensor for 1.0 second
    • Excessive left front wheel speed sensor resistance for 1.0 second

Action Taken When the DTC Sets

    • The ABS indicator lamp turns on
    • The ABS disables

Malfunction responses to DTC C0225 vary, depending on the affected subsystem.

   • 

ABS--Condition latched

   • 

DRP--DRP non critical

For a detailed explanation of DTC malfunction responses, refer to Self-Diagnostics .

Conditions for Clearing the DTC

    • Repair the conditions responsible for setting the DTC.
    • Use the Clear DTCs function on the Scan Tool
    • A Condition Latched DTC may exist momentarily, or constantly. In either case, the DTC will be stored in the EBCM memory until it is repaired, and/or the DTC is cleared. After the DTC is repaired and/or cleared and the ignition is turned to ON, the ABS lamp will remain lit until the EBCM completes its power-up self test. This test concludes when the vehicle has reached a speed of greater than 13 km/h (8 mph) and the wheel speed inputs have been checked by the EBCM.

Diagnostic Aids

Any of the following conditions may cause an intermittent malfunction:

    • A poor connection
    • Wire insulation that is rubbed through
    • A wire breaks inside the insulation

Thoroughly check any circuitry that is suspected of causing the intermittent complaint for the following conditions:

    • Backed out terminals
    • Improper mating
    • Broken locks
    • Improperly formed or damaged terminals
    • Poor terminal to wiring connections
    • Physical damage to the wiring harness

If the customer says that the ABS indicator lamp is on only during humid conditions such as rain, snow, or vehicle wash, then thoroughly inspect all wheel speed sensor circuits for signs of water intrusion. Use the following procedure:

  1. Spray the suspected area with a 5% salt water solution (two teaspoons of salt to 12 oz. of water)
  2. Drive the vehicle above 24 km/h (15 mph) for at least 30 seconds.

If the DTC returns, replace the suspected harness.

When inspecting a wheel speed sensor, inspect the sensor terminals and the harness connector for corrosion. If evidence of corrosion exists, then replace the wheel speed sensor. Refer to Wheel Speed Sensor Replacement .

Test Description

The numbers below refer to the steps in the diagnostic table:

  1. This step test the wheel speed sensor for the proper resistance value.

  2. This step ensures that the wheel speed sensor generates the proper voltage.

Step

Action

Value(s)

Yes

No

1

Did you perform the ABS Diagnostic System Check?

--

Go to Step 2

Go to Diagnostic System Check

2

  1. Install a scan tool.
  2. Turn the ignition ON.
  3. Set up the scan tool snap shot feature to trigger for this DTC.
  4. Drive the vehicle at a speed greater than the specified value.

Does the scan tool indicate that this DTC set?

8 km/h (5 mph)

Go to Step 3

Go to Diagnostic Aids

3

  1. Disconnect the wheel speed sensor connector.
  2. Measure the resistance across the wheel speed sensor.

Does the resistance measure within the specified range?

Go to ABS Diagnostic Specifications

Go to Step 4

Go to Step 8

4

  1. Raise and support the vehicle. Refer to Lifting and Jacking the Vehicle in General Information.
  2. Spin the wheel.
  3. Measure the AC voltage across the wheel speed sensor.

Does the AC voltage measure greater than the specified value?

100 mV

Go to Step 5

Go to Step 8

5

Inspect for poor connections at the harness connector of the wheel speed sensor. Refer to Testing for Intermittent Conditions and Poor Connections and Connector Repairs in Wiring Systems.

Did you find and correct the condition?

--

Go to Step 10

Go to Step 6

6

  1. Disconnect the EBCM 10-way harness connector.
  2. Test the wheel speed sensor circuits for the following:
  3. • An open
    • A short to ground
    • A short to voltage
    • Shorted together

Refer to Circuit Testing and Wiring Repairs in Wiring Systems.

Did you find and correct the condition?

--

Go to Step 10

Go to Step 7

7

Inspect for poor connections at the harness connector for the EBCM. Refer to Testing for Intermittent Conditions and Poor Connections and Connector Repairs in Wiring Systems.

Did you find and correct the condition?

--

Go to Step 10

Go to Step 9

8

Replace the wheel speed sensor. Refer to Wheel Speed Sensor Replacement .

Did you complete the replacement?

--

Go to Step 10

--

9

Replace the EBCM. Refer to Electronic Brake Control Module Replacement .

Did you complete the replacement?

--

Go to Step 10

--

10

  1. Use the scan tool in order to clear the DTCs.
  2. Operate the vehicle within the Conditions for Running the DTC as specified in the supporting text.

Does the DTC reset?

--

Go to Step 2

System OK