GM Service Manual Online
For 1990-2009 cars only
Makes
🢒
Chevrolet
🢒
2001
🢒
Blazer - 4WD - RHD
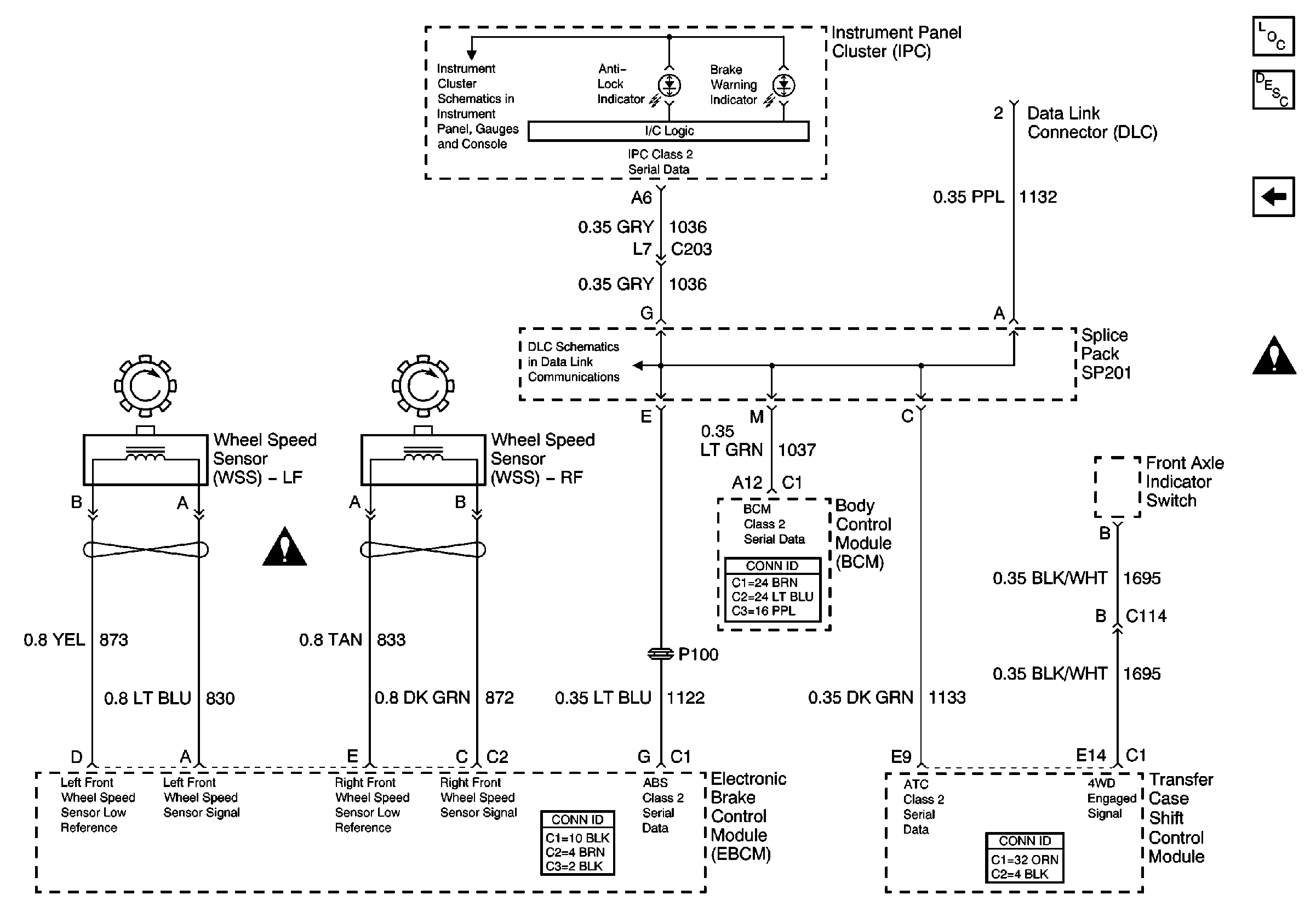
🢒 Power, Ground and Wheel Speed Sensors
Power, Ground and Wheel Speed Sensors
Power, Ground and Wheel Speed Sensors
Master Electrical Component List
ABS Description and Operation
EBCM Power and Ground
Antilock Brake System Schematic Icons
Data Link Connector (DLC), VCM and Engine Oil Pressure Gauge Sensor
Splice Pack SP201 and Modules
Antilock Brake System Schematic Icons