GM Service Manual Online
For 1990-2009 cars only
Makes
🢒
Chevrolet
🢒
2001
🢒
Blazer - 4WD - RHD
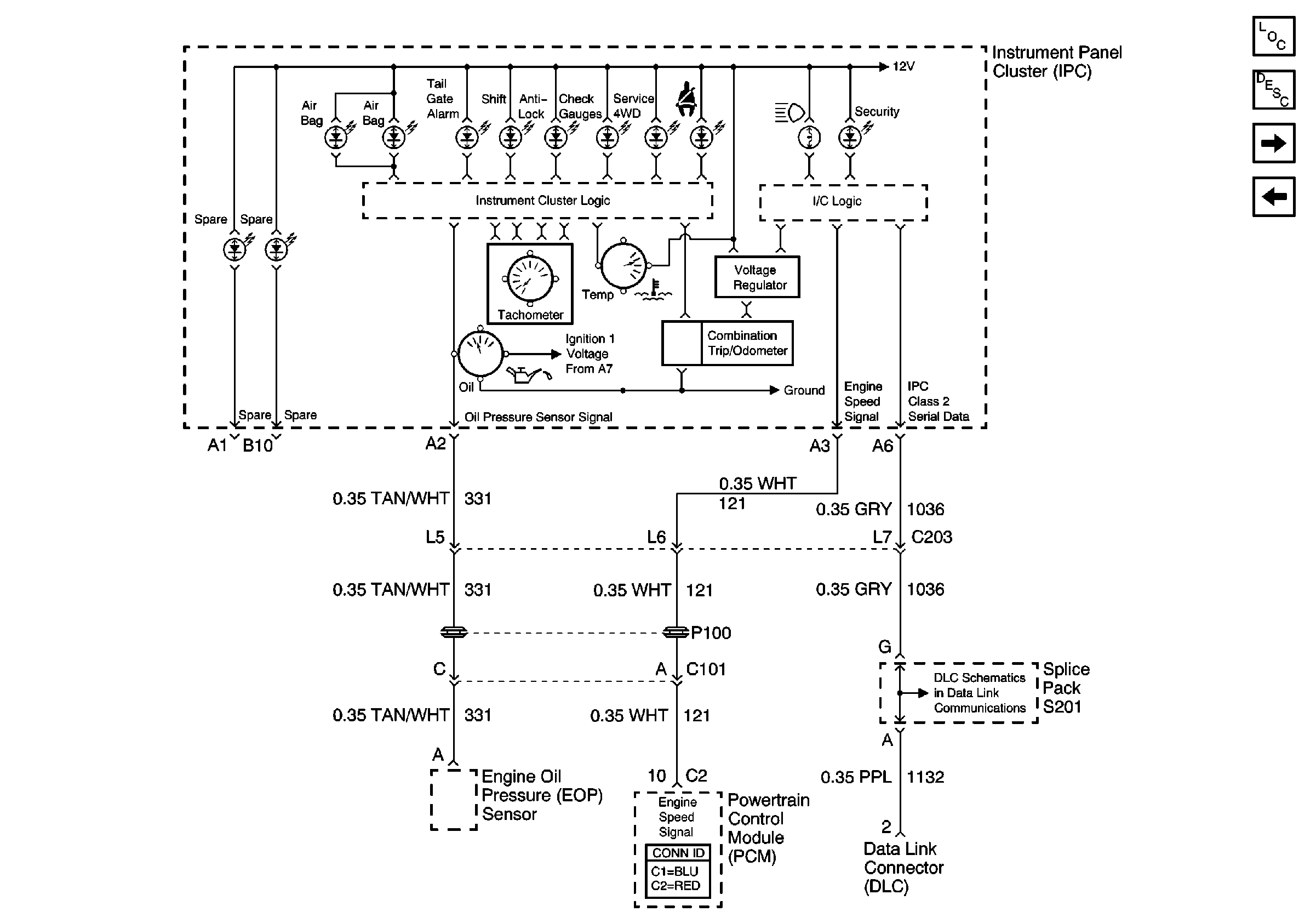
🢒 Data Link Connector (DLC), VCM and Engine Oil Pressure Gauge Sensor
Data Link Connector (DLC), VCM and Engine Oil Pressure Gauge Sensor
Data Link Connector (DLC), VCM and Engine Oil Pressure Gauge Sensor
Master Electrical Component List
Instrument Cluster Description and Operation
Ground and VCM
Power
Splice Pack SP201 and Modules
Power
Power
Power