GM Service Manual Online
For 1990-2009 cars only

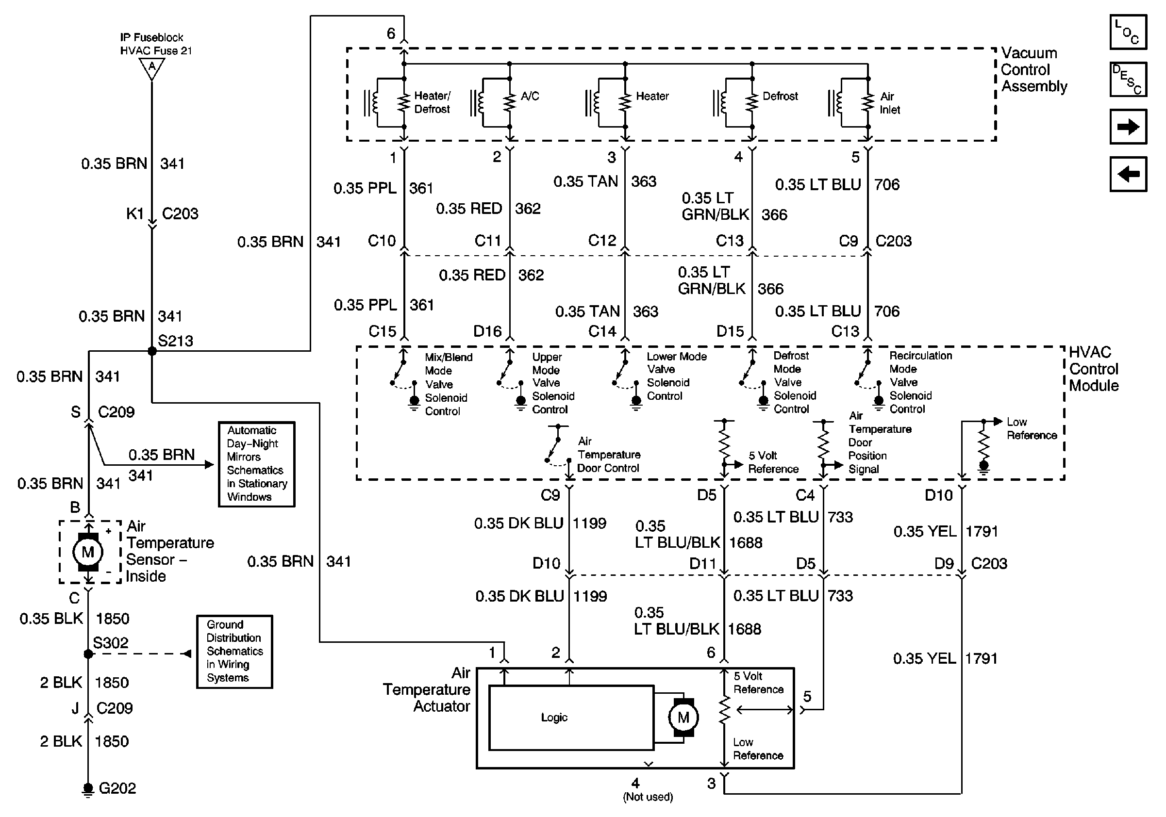
HVAC Control Module, Air Temperature Actuator, Vacuum Control Assembly, Air Temperature Sensor - Inside, and G202

HVAC Control Module, Air Temperature Actuator, Vacuum Control Assembly, Air Temperature Sensor -- Inside, and G202


Object Number: 680674  Size: FS
Master Electrical Component List
Air Delivery Description and Operation
HVAC Control Module, Sunload Sensor, and Air Temperature Sensors
A/C Low and High Pressure Switches, A/C Compressor Clutch , D100, G102,G103, G105, HVAC Control Module and PCM
Blower Motor, Blower Motor Control Processor, HVAC Control Module, DLC, G203 and G204
Inside Rearview Mirror Schematics
G202 and G204