GM Service Manual Online
For 1990-2009 cars only
Makes
🢒
Chevrolet
🢒
2001
🢒
Blazer - 4WD - RHD
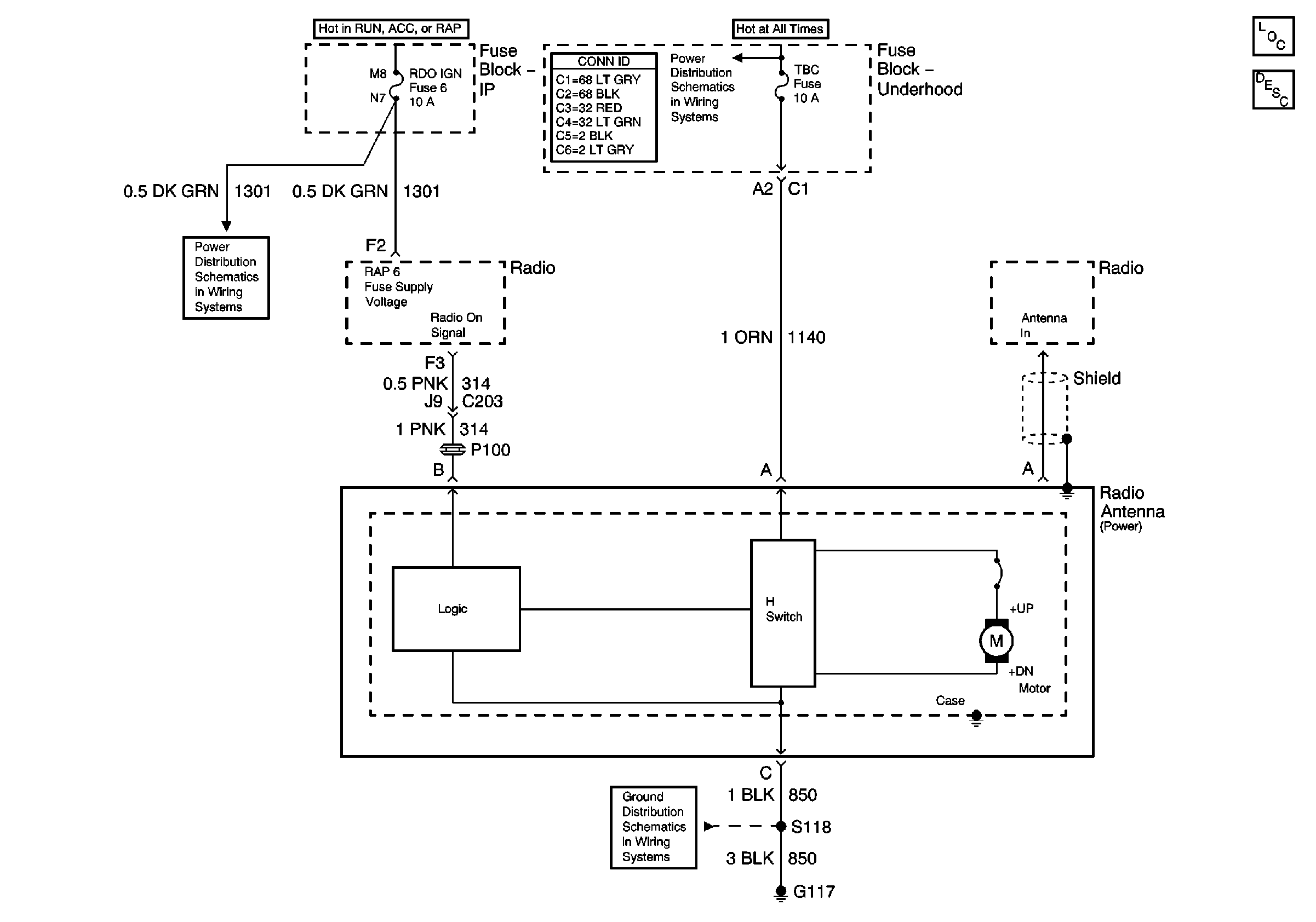
🢒 Power Antenna Schematics
Power Antenna Schematics
Master Electrical Component List
Radio/Audio System Description and Operation
RDO BAT and AUX PWR Fuses
B+ Bus Bar
G117