GM Service Manual Online
For 1990-2009 cars only
Makes
🢒
Chevrolet
🢒
2002
🢒
Blazer - 4WD - RHD
🢒 Power, Ground and DLC
Power, Ground and DLC
Power, Ground and DLC
Master Electrical Component List
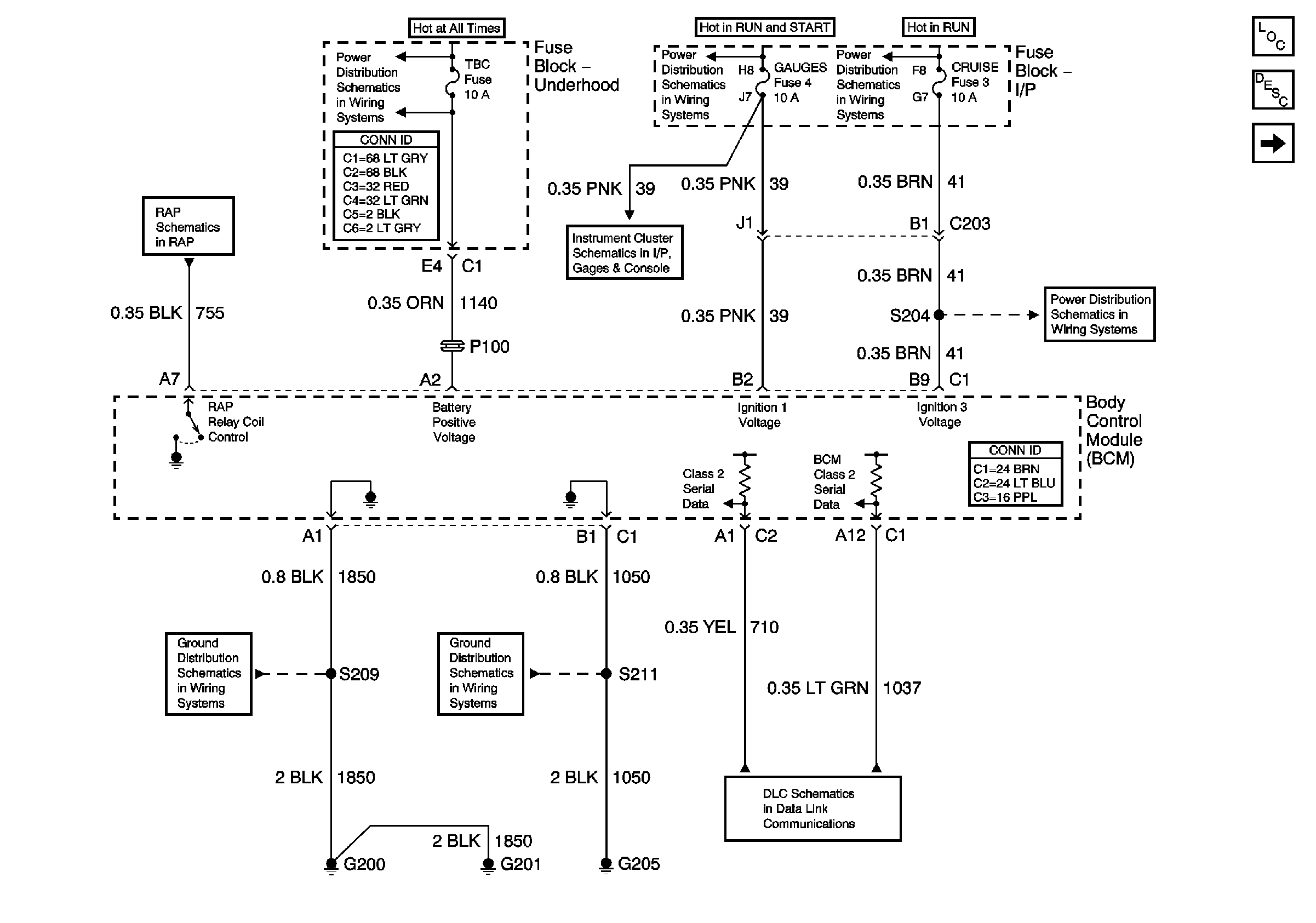
Body Control System Description and Operation
Controlled/Monitored Subsystem References
Power, BCM and Ignition and Start Switch
B+ Bus Bar
Ign START, RUN and ACC Bus Bar
Ign RUN and START Bus Bar
Power
RDO IGN, FRT WPR, RR WIPER, ABS and CRUISE Fuses
G200 and G201
G203 and G205
Splice Pack SP201 and Modules