GM Service Manual Online
For 1990-2009 cars only
Makes
🢒
Chevrolet
🢒
2002
🢒
Blazer - 4WD - RHD
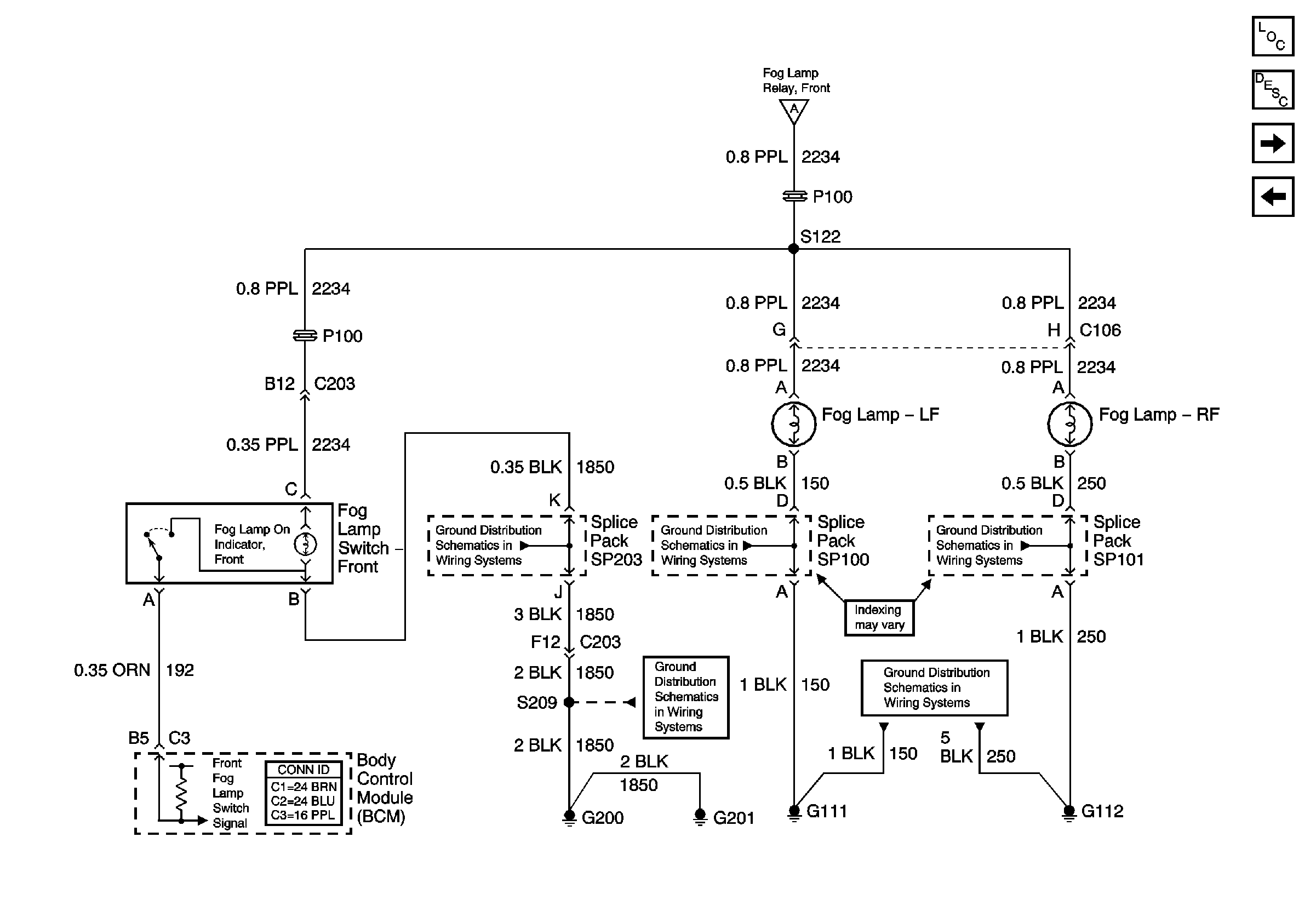
🢒 Fog Lamps - LF/RF, and Fog Lamp Switch - Front
Fog Lamps - LF/RF, and Fog Lamp Switch - Front
Fog Lamps - LF/RF, and Fog Lamp Switch - Front
Master Electrical Component List
Exterior Lighting Systems Description and Operation
Fog Lamp Relay - Rear
Fog Lamp Relay - Front
Fog Lamp Relay - Front
SP203
G111 and G112
G111 and G112
G200 and G201
G111 and G112