GM Service Manual Online
For 1990-2009 cars only
Makes
🢒
Chevrolet
🢒
2002
🢒
Blazer - 4WD - RHD
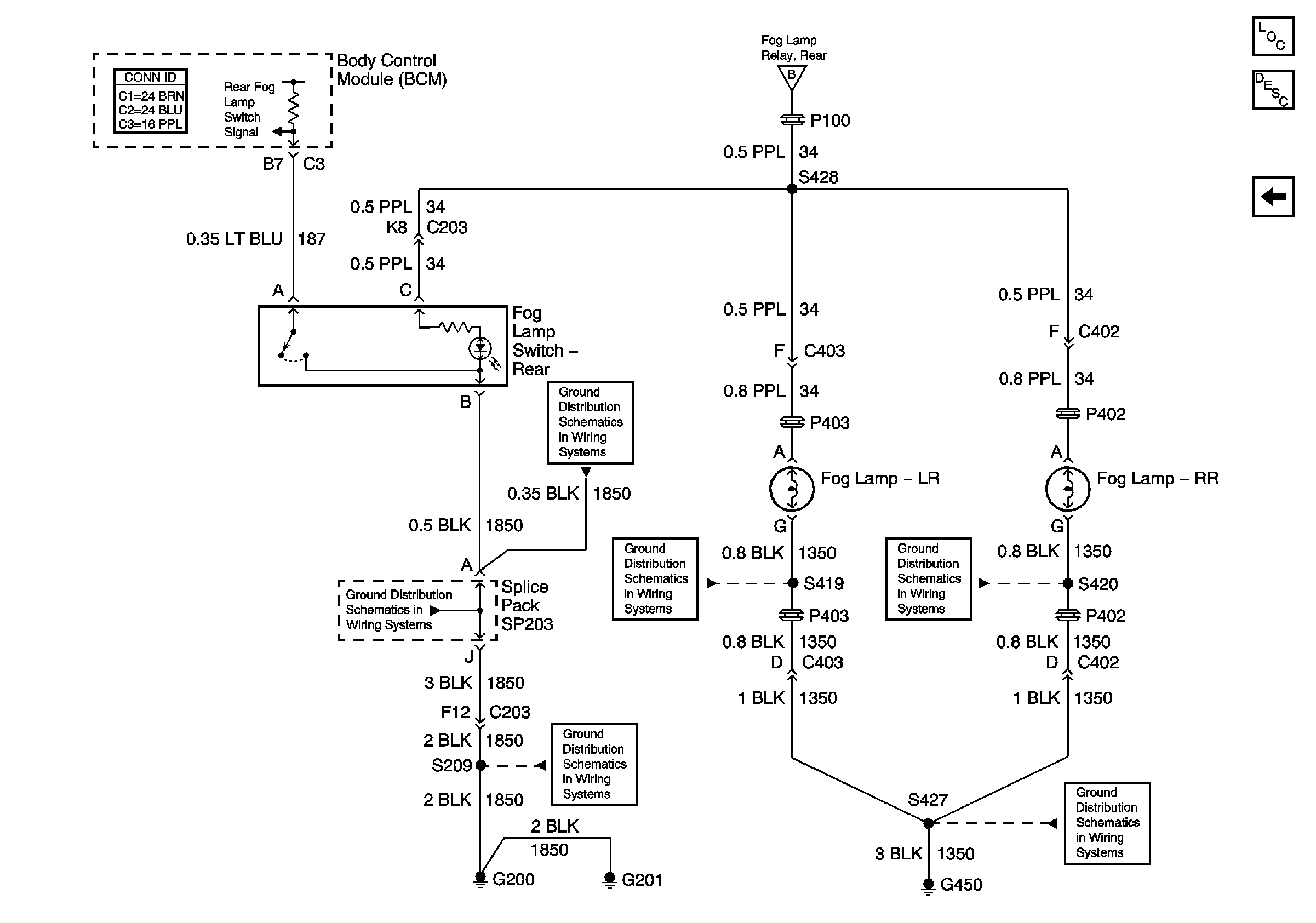
🢒 Fog Lamps - LR/RR, and Fog Lamp Switch - Rear
Fog Lamps - LR/RR, and Fog Lamp Switch - Rear
Fog Lamps - LR/RR, and Fog Lamp Switch - Rear
Master Electrical Component List
Exterior Lighting Systems Description and Operation
Fog Lamp Relay - Rear
SP203
SP203
S313 and S419
G200 and G201
Fog Lamp Relay - Rear
S320 and S420
G450