GM Service Manual Online
For 1990-2009 cars only
Makes
🢒
Chevrolet
🢒
2002
🢒
Blazer - 4WD - RHD
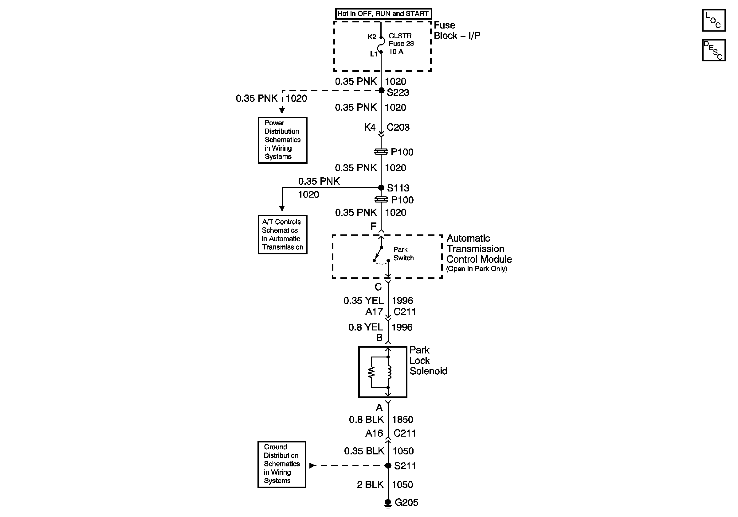
🢒 Column/Ignition Lock Schematics
Column/Ignition Lock Schematics
Master Electrical Component List
G202, G203 and G301
G201
TCC SOL, TCC PWM SOL, 3-2 SS, 2-3 SS and 1-2 SS Valves
G203 and G205