GM Service Manual Online
For 1990-2009 cars only

Tools Required

J 39400-A Halogen Leak Detector.

Removal Procedure


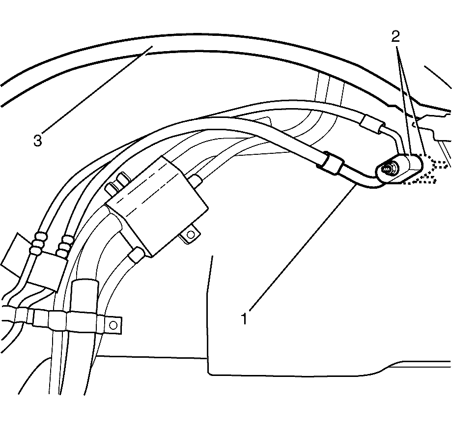
    Object Number: 2000580  Size: SH
  1. Recover the refrigerant from the A/C system. Refer to Refrigerant Recovery and Recharging.
  2. Remove the rear left fender liner. Refer to Rear Wheelhouse Panel Liner Modification.
  3. Disconnect the air conditioning lines (1) from the auxiliary HVAC module connections (2) within the rear left wheelhouse (3). Refer to Suction Hose Replacement.
  4. Remove the rear quarter lower trim panel. Refer to Quarter Lower Rear Trim Panel Replacement.
  5. Disconnect the electrical connectors from the Auxiliary HVAC module.
  6. Remove the auxiliary air distributor duct. Refer to Auxiliary Air Distributor Duct Replacement.
  7. Remove the rear blower motor resistor. Refer to Auxiliary Blower Motor Resistor Replacement.
  8. Remove the auxiliary blower motor relay. Refer to Auxiliary Blower Motor Relay Replacement.

  9. Object Number: 2000579  Size: SH
  10. Remove auxiliary HVAC module fasteners (1) from the vehicle sheetmetal (2).
  11. Remove the auxiliary HVAC module (3) from the vehicle.

Installation Procedure


    Object Number: 2000579  Size: SH
  1. Install the auxiliary HVAC module (3) into the vehicle.
  2. Notice: Refer to Fastener Notice in the Preface section.

  3. Install the auxiliary HVAC module fasteners (1) into the vehicle sheetmetal (2).
  4. Tighten
    Tighten the auxiliary HVAC module fasteners to 8 N·m (6.0 lb ft).


    Object Number: 2000580  Size: SH
  5. Connect the air conditioning lines (1) to the auxiliary HVAC module connections (2) within the rear left wheelhouse (3). Refer to Auxiliary Air Conditioning Evaporator Tube Replacement.
  6. Install the auxiliary blower motor relay. Refer to Auxiliary Blower Motor Relay Replacement.
  7. Install the rear blower motor resistor. Refer to Auxiliary Blower Motor Resistor Replacement.
  8. Install the auxiliary air distributor duct. Refer to Auxiliary Air Distributor Duct Replacement.
  9. Connect the electrical connectors to the Auxiliary HVAC module.
  10. Install the rear quarter lower trim panel. Refer to Quarter Lower Rear Trim Panel Replacement.
  11. Recharge the refrigerant in the A/C system. Refer to Refrigerant Recovery and Recharging.
  12. Check the system operation.