GM Service Manual Online
For 1990-2009 cars only
Makes
🢒
Chevrolet
🢒
2002
🢒
Chevy C Cab/Chassis HD (GMT 400)
🢒 L65 A/T Internal Switches, TFT, PC Solenoid Valve
L65 A/T Internal Switches, TFT, PC Solenoid Valve
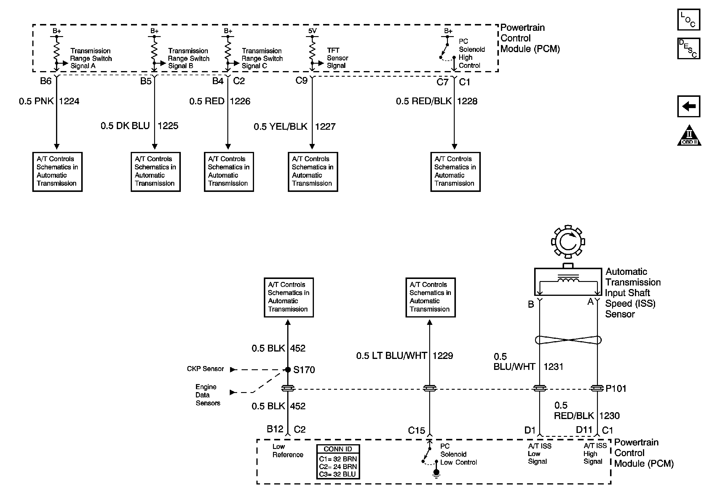
A/T Internal Switches, TFT, PC Solenoid Valve, and Input Shaft Speed Sensor
Master Electrical Component List
Electronic Component Description
L65 A/T TCC/Stoplamps Switch, Shift Solenoids
OBD II Symbol Description Notice
Pressure Switch, TFT Sensor, PC Sol Valve, and Shaft Speed Sensors
Pressure Switch, TFT Sensor, PC Sol Valve, and Shaft Speed Sensors
Pressure Switch, TFT Sensor, PC Sol Valve, and Shaft Speed Sensors
Pressure Switch, TFT Sensor, PC Sol Valve, and Shaft Speed Sensors
Pressure Switch, TFT Sensor, PC Sol Valve, and Shaft Speed Sensors
Pressure Switch, TFT Sensor, PC Sol Valve, and Shaft Speed Sensors
Pressure Switch, TFT Sensor, PC Sol Valve, and Shaft Speed Sensors
L65 CKP and Injection Timing Stepper Motor
L65 Wastegate Solenoid, Boost Sensor, IAT Sensor, and ECT Sensor