GM Service Manual Online
For 1990-2009 cars only
Makes
🢒
Chevrolet
🢒
2002
🢒
Chevy C Cab/Chassis HD (GMT 400)
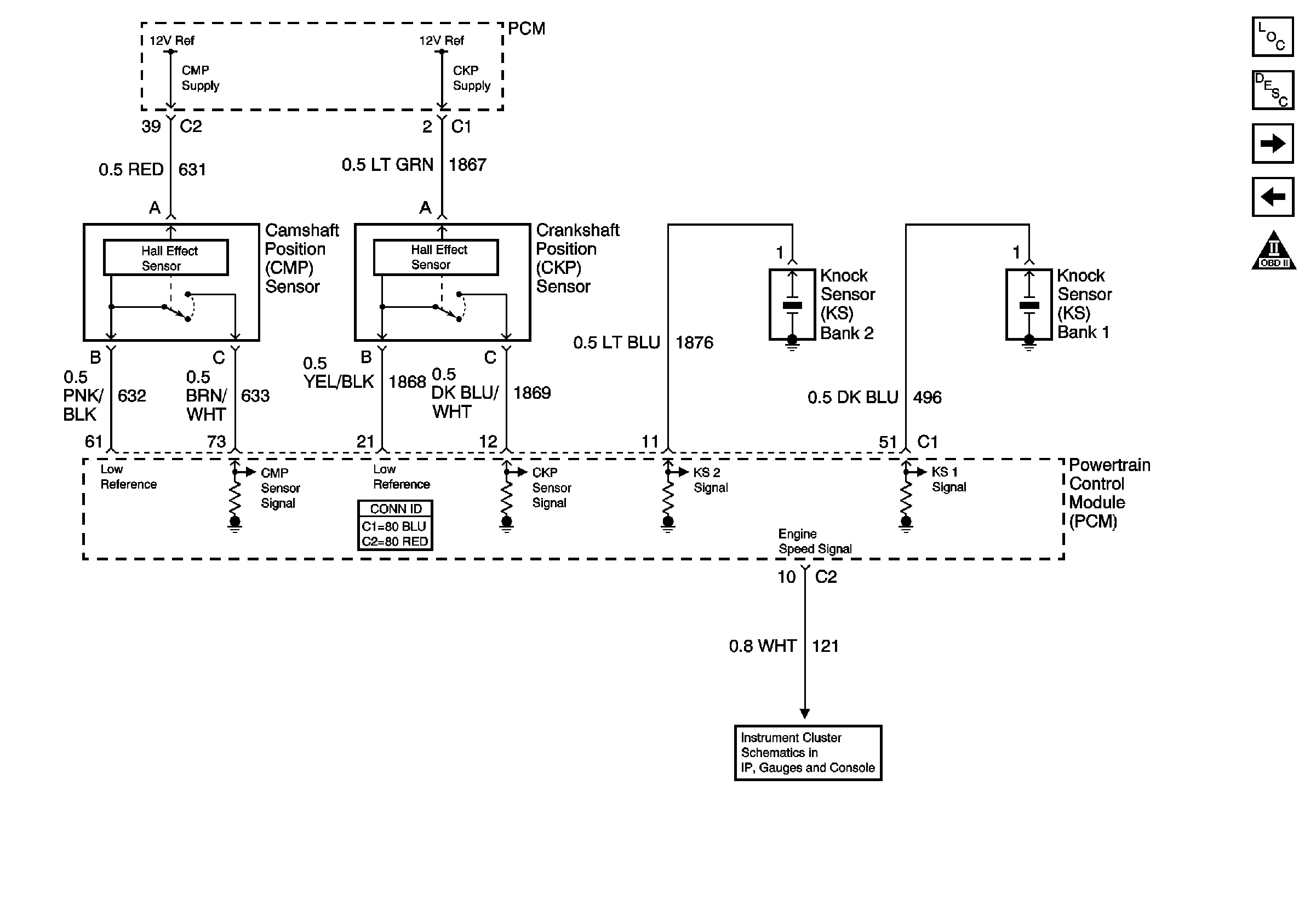
🢒 L18 CMP, CKP, and KS
L18 CMP, CKP, and KS
CMP, CKP, and KS
Master Electrical Component List
Knock Sensor (KS) System Description
L18 Fuel Pump Controls - Single Tank
L18 Ignition Control - Bank 2 (RH)
OBD II Symbol Description Notice
Fuel Gauge, Tachometer, and Speedometer