GM Service Manual Online
For 1990-2009 cars only

Refer to

AIR System - 7.4L California Only


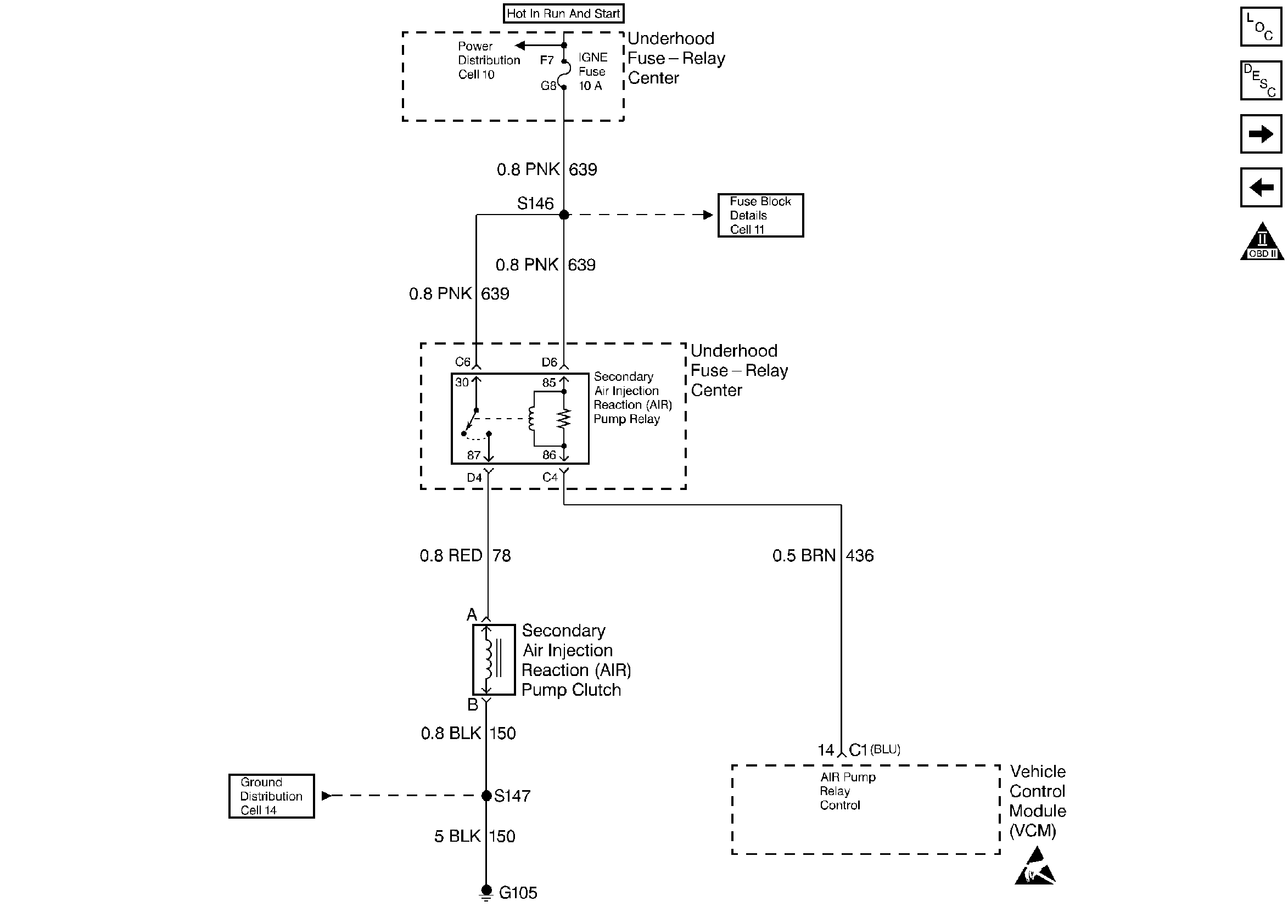
Object Number: 31880  Size: FS
Engine Controls Components
Secondary Air Injection System Description
Instrument Cluster, Instrument Panel, and the DLC - 5.0L
A/C System - 7.4L Federal and California
OBD II Symbol Description Notice
Handling ESD Sensitive Parts Notice

Circuit Description

A fused ignition voltage is supplied to the AIR relay. The VCM controls the AIR pump by grounding the AIR relay control circuit. This energizes the relay and supplies voltage to the AIR pump clutch. When the fuel system goes to the Closed Loop mode, the VCM opens the ground to the AIR control circuit.

Conditions for Setting the DTC

    • No ECT sensor DTCs
    • No IAC sensor DTCs
    • No HO2S sensor DTCs
    • No Misfire DTCs
    • No MAP DTCs.
    • No Fuel Trim DTCs
    • No EVAP DTCs
    • Air/Fuel Ratio 14.7:1
    • Engine Speed Above 550 RPM
    • Engine Load less than 50%
    • MAF less than 100 g/s
    • ECT between 75°C and 105°C
    • Decel Fuel Cutoff not active
    • Closed Loop for a period of greater than 15 seconds
    • System voltage greater than 10 volts
    • Power enrichment not active
    • A change in Short Term Fuel Trim less than 6% between Open and Closed Loop

Action Taken When the DTC Sets

The VCM will turn ON the malfunction indicator lamp (MIL) after two consecutive test cycles with the fault active.

Conditions for Clearing the MIL/DTC

The VCM turns OFF the MIL after 3 consecutive driving trips without a fault condition present. A history DTC will clear if no fault conditions have been detected for 40 warm-up cycles (the coolant temperature has risen 22°C (40°F) from the start-up coolant temperature and the engine coolant temperature exceeds 71°C (160°F) during that same ignition cycle) or the scan tool clearing feature has been used.

Diagnostic Aids

An intermittent may be caused by a poor connection, rubbed through wire insulation, or a broken wire inside the insulation.

Check for the following conditions:

    • Poor connection or damaged harness - Inspect the harness connectors for backed out terminals, improper mating, broken locks, improperly formed or damaged terminals, poor terminal to wire connection, and damaged harness.
    • Worn or loose AIR pump drive belt
    • Pinched, kinked, or restricted AIR pipes, hoses, or fittings

Test Description

Number(s) below refer to the step number(s) on the Diagnostic Table.

  1. This step will determine if the VCM is capable of controlling the AIR system.

  2. This step will ensure that the VCM is capable of turning the AIR pump OFF.

  3. This step will determine if there is a problem in the circuit between the AIR relay and AIR pump clutch ground.

  4. This step will determine if the problem is in the AIR relay control circuit or the VCM.

Step

Action

Value(s)

Yes

No

1

Important: Before clearing DTC(s) use the scan tool to record Freeze Frame and Failure Records for reference, as data will be lost when the Clear Info function is used.

Was the Powertrain On-Board Diagnostic (OBD) System Check performed?

--

Go to Step 2

Go to the Powertrain On Board Diagnostic (OBD) System Check

2

  1. Install a scan tool.
  2. Start and run the engine for greater than the specified value.
  3. Verify the engine is running at normal operating temperature.
  4. Using a scan tool, command the AIR ON.

Does the Short Term Fuel Trim indicate a change of more than the specified value within 30 seconds?

2 min

6 %

Go to Step 3

Go to Step 4

3

The DTC is intermittent. If no additional DTCs are stored, refer to Diagnostic Aids. If additional DTCs are stored, refer to those Table(s).

Are any additional DTCs stored?

--

Go to the Applicable DTC Table

Go to Step 28

4

  1. With the engine still running, command the AIR pump ON.
  2. Observe the AIR pump clutch.

Is the AIR pump clutch engaged?

--

Go to Step 5

Go to Step 6

5

  1. With the engine still running, command the AIR pump OFF.
  2. Observe the AIR pump clutch.

Is the AIR pump clutch engaged?

--

Go to Step 7

Go to Step 25

6

  1. Disconnect the AIR relay.
  2. Connect a test light to the ignition feed circuit and ground.

Is the test light ON?

--

Go to Step 7

Go to Step 14

7

With the AIR relay still disconnected, connect a test light to the AIR relay control circuit and B+.

Is the test light ON?

--

Go to Step 17

Go to Step 8

8

  1. Connect a test light to the AIR relay control circuit and B+.
  2. Using the scan tool, command the AIR pump ON.

Is the test light ON?

--

Go to Step 10

Go to Step 15

9

Connect a fused jumper to the AIR pump clutch control circuit and B+.

Is the AIR pump clutch engaged?

--

Go to Step 20

Go to Step 11

10

Connect a test light to the AIR pump clutch control circuit and ground.

Is the test light ON?

--

Go to Step 22

Go to Step 9

11

Check for an open in the AIR pump clutch control circuit.

Was a problem found?

--

Go to Step 24

Go to Step 12

12

Check for an open in the AIR pump ground circuit.

Was a problem found?

--

Go to Step 24

Go to Step 13

13

Check for an open in the AIR pump clutch coil.

Was a problem found?

--

Go to Step 24

Go to Step 2

14

Check for an open fuse in the AIR ignition feed circuit.

Was a problem found?

--

Go to Step 18

Go to Step 19

15

Check for an open in the AIR relay control circuit.

Was a problem found?

--

Go to Step 24

Go to Step 16

16

Check the terminal contact at the VCM for the AIR relay control circuit.

Was a problem found?

--

Go to Step 24

Go to Step 23

17

  1. Turn the ignition OFF.
  2. Disconnect the Blue VCM connector.
  3. Connect a test light between the AIR relay control circuit and B+.

Is the test light ON?

--

Go to Step 21

Go to Step 23

18

Repair the short to ground in the ignition feed circuit to the AIR relay.

Is the action complete?

Go to Step 28

--

19

Repair the open in the ignition feed circuit to the AIR relay.

Is the action complete?

--

Go to Step 28

--

20

Replace the AIR relay.

Is the action complete?

--

Go to Step 28

--

21

Repair the short to ground in the AIR relay control circuit.

Is the action complete?

--

Go to Step 28

--

22

Repair the short to voltage on the AIR pump clutch control circuit.

Is the action complete?

--

Go to Step 28

--

23

Replace the VCM.

Important: If the VCM is faulty, the new VCM must be programmed. Refer to VCM Replacement/Programming .

Is the action complete?

--

Go to Step 28

--

24

Repair as necessary.

Is the action complete?

--

Go to Step 28

--

25

  1. Disconnect the AIR pump output hose at the AIR valve.
  2. Using the scan tool, command the AIR ON.
  3. Accelerate the engine to approximately the specified value.
  4. Observe the airflow coming from the hose.

Does the airflow increase as the engine is accelerated?

--

Go to Step 26

Go to Step 27

26

  1. Check for a worn or loose AIR pump drive belt.
  2. Check for leaks or restrictions in the AIR pipes, hoses, and fittings.

Was a problem found?

--

Go to Step 24

Go to Step 2

27

Replace the AIR pump. Refer to Secondary Air Injection System Description

Is the action complete?

--

Go to Step 28

--

28

  1. Using the scan tool, select DTC, Clear Info.
  2. Start the engine and idle at normal operating temperature.
  3. Select DTC, Specific, then enter the DTC number which was set.
  4. Operate the vehicle within the conditions for setting this DTC as specified in the supporting text.

Does the scan tool indicate that this diagnostic Ran and Passed?

--

Go to Step 29

Go to Step 2

29

Using the scan tool, select Capture Info, Review Info.

Are any DTCs displayed that have not been diagnosed?

--

Go to the Applicable DTC Table

System OK