GM Service Manual Online
For 1990-2009 cars only
Makes
🢒
Chevrolet
🢒
1997
🢒
Chevy C Pickup - 2WD
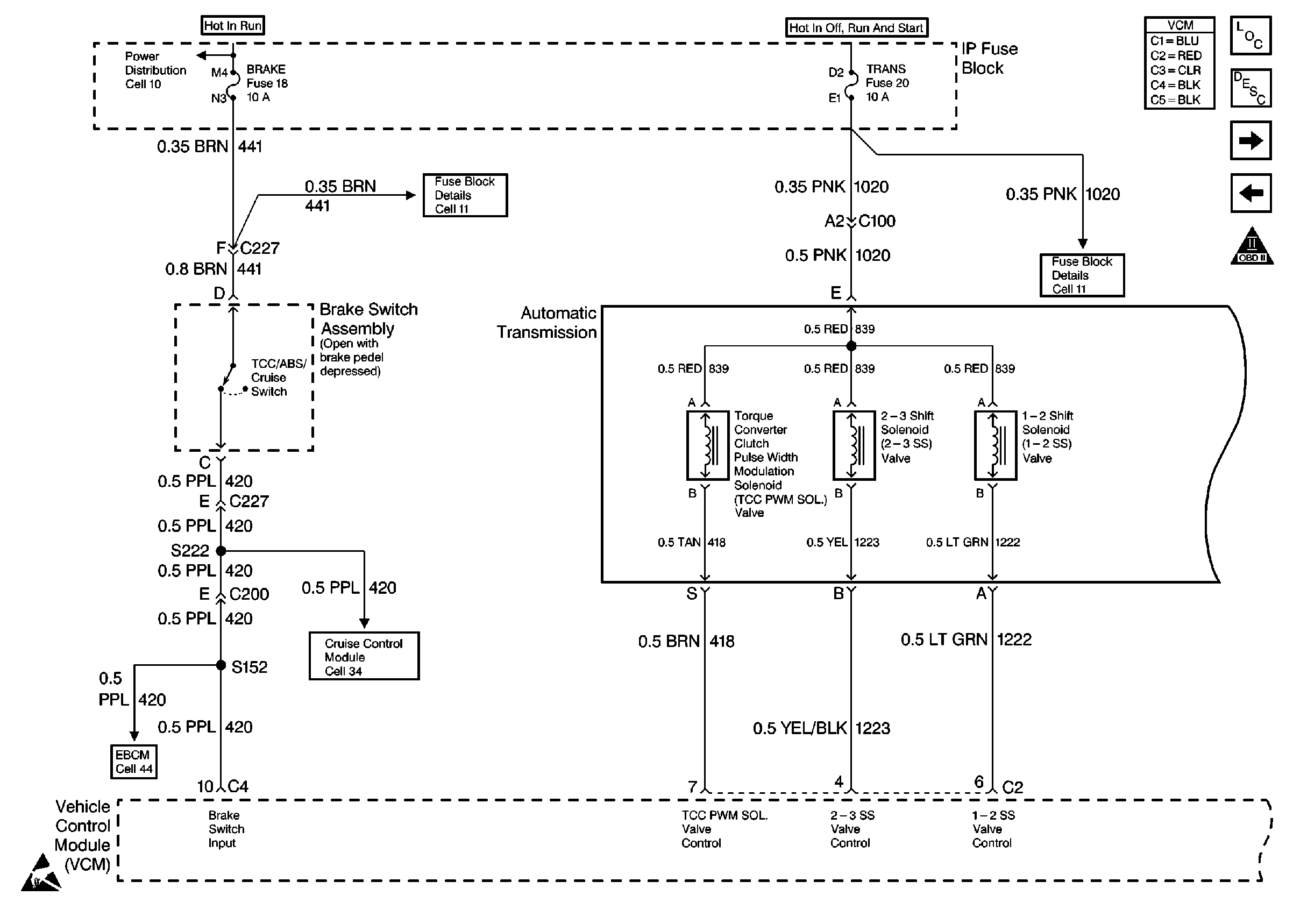
🢒 Transmission Shift Controls and Brake Switch - 4L80-E
Transmission Shift Controls and Brake Switch - 4L80-E
Transmission Shift Controls and Brake Switch - 4L80-E
Engine Controls Components
A/C Compressor Controls
Transmission Pressure Controls - 4L80-E
OBD II Symbol Description Notice
Engine Controls Schematic References
Engine Controls Schematic References
Engine Controls Schematic References
Engine Controls Schematic References
Handling Electrostatic Discharge Sensitive Parts Notice
Engine Controls Schematic References