GM Service Manual Online
For 1990-2009 cars only
Makes
🢒
Chevrolet
🢒
1997
🢒
Chevy C Pickup - 2WD
🢒 4.3L W/4L60E
4.3L W/4L60E
4.3L W/4L60E
Engine Controls Components
4.3L W/ 4L60E, BRAKE SWITCH
4.3L VCM, CRUISE CONTROL, VSS, EBCM
OBD II Symbol Description Notice
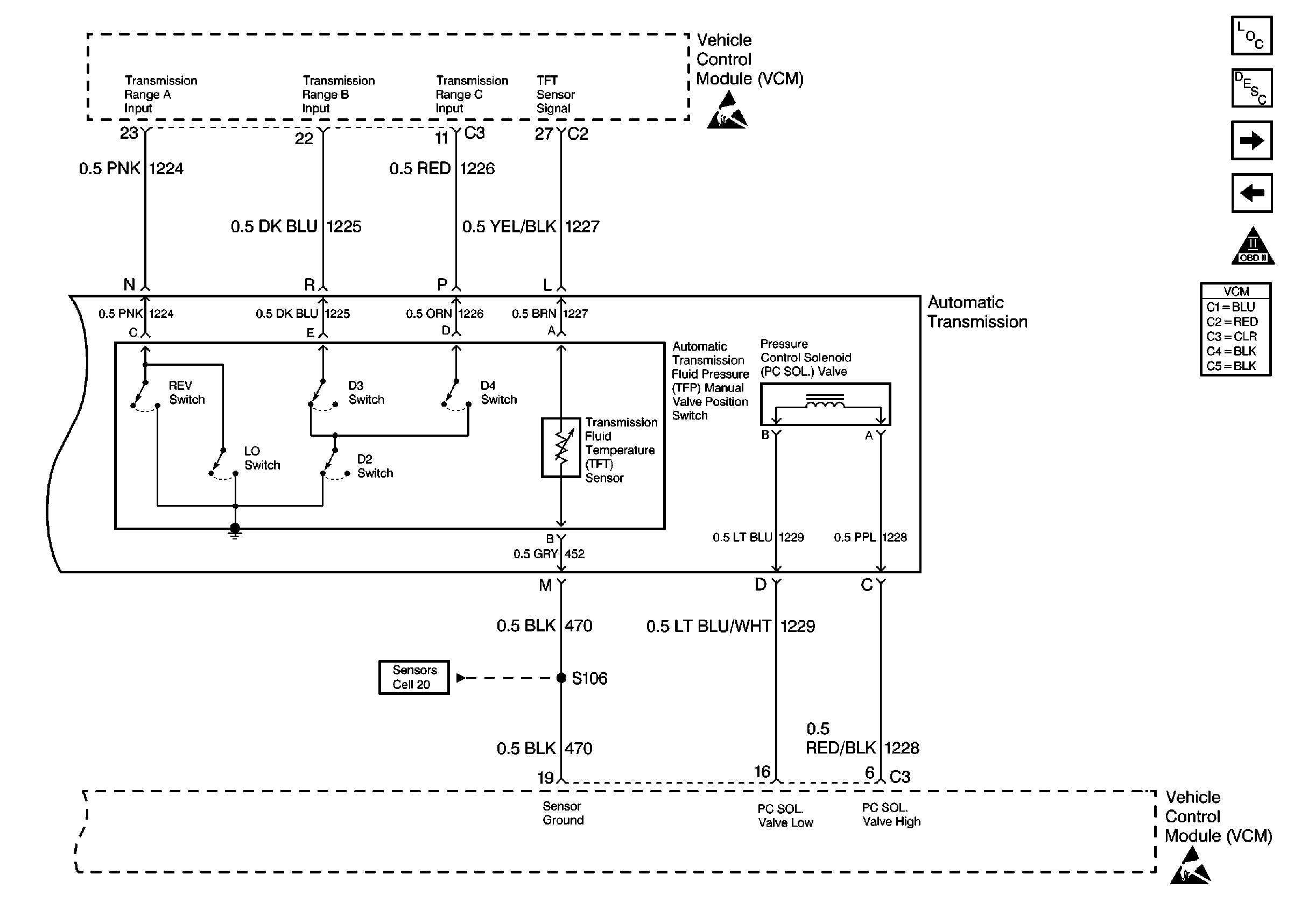
4.3L VCM, SENSORS
Handling Electrostatic Discharge Sensitive Parts Notice
Handling Electrostatic Discharge Sensitive Parts Notice