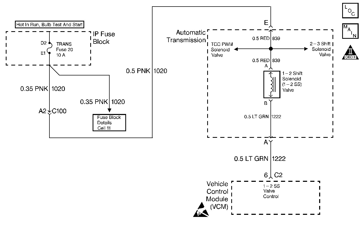
The 1-2 Shift Solenoid Valve (1-2 SS Valve) controls the fluid flow action on the 1-2 and the 3-4 shift valves. The 1-2 SS Valve is a normally-open exhaust valve that is used with the 2-3 Shift Solenoid Valve (2-3 SS Valve) to allow four different shifting combinations. The 1-2 SS Valve attaches to the control valve body within the transmission. The ignition voltage goes directly to the 1-2 SS Valve. The Powertrain Control Module (PCM) controls the 1-2 SS valve by providing the ground path through circuit 1222.
If the PCM detects a continuous open or short to ground in the 1-2 SS Valve circuit or the 1-2 SS Valve, then DTC P0753 sets. DTC P0753 is a type A DTC.
| • | The ignition is ON. |
| • | The engine runs more than 475 RPM for greater than 7 seconds. |
| • | Invalid output state |
| • | A fault is detected for 4.3 out of 5 seconds. |
| • | The PCM commands maximum line pressure. |
| • | The PCM freezes shift adapts. |
| • | The PCM illuminates the Malfunction Indicator Lamp (MIL). |
| • | Inspect the wiring for poor electrical connections at the PCM Inspect the wiring for poor electrical connections at the transmission 20-way connector. Look for the following problems: |
| - | A bent terminal |
| - | A backed out terminal |
| - | A damaged terminal |
| - | Poor terminal tension |
| - | A chafed wire |
| - | A broken wire inside the insulation |
| • | When diagnosing for an intermittent short or open, massage the wiring harness while watching the test equipment for a change. |
| • | An open ignition feed circuit can cause multiple DTCs to set. |
| • | First diagnose and clear any engine DTCs that are present. Then inspect for any transmission DTCs that may have reset. |
| • | Refer to Shift Solenoid Valve State and Gear Ratio table. |
The numbers below refer to the step numbers on the diagnostic table.
This step tests the function of the 1-2 SS Valve and the Automatic Transmission Wiring Harness Assembly.
This step tests the power to the 1-2 SS Valve from the ignition through the fuse.
This step tests the ability of the PCM and the wiring to control the ground circuit.
This step measures the resistance of the Automatic Transmission Wiring Harness Assembly and the 1-2 SS Valve.
Step | Action | Value(s) | Yes | No | ||||||
|---|---|---|---|---|---|---|---|---|---|---|
1 | Was the Powertrain On-Board Diagnostic (OBD) System Check performed? | -- | ||||||||
2 |
Important: Before clearing the DTCs, use the scan tool in order to record the Freeze Frame and Failure Records for reference. The Clear Info function will erase the data. Were DTCs P0753, P0758, and P1860 set? | -- | ||||||||
3 |
Refer to Electrical Diagnosis, Section 8.
Did you find and correct a problem? | -- | -- | |||||||
Command the 1-2 SS Valve ON and OFF three times while listening to the bottom of the transmission pan (use a stethoscope if needed). Does the solenoid click when commanded? | -- | Go to Diagnostic Aids | ||||||||
Is the test lamp on? | -- | |||||||||
6 | Repair the open or short to ground in ignition feed circuit 1020 to the 1-2 SS Valve. Refer to Electrical Diagnosis, Section 8. Did you find and correct a problem? | -- | -- | |||||||
Does the test lamp illuminate when you command the shift solenoid ON and turn off when you command the shift solenoid OFF? | -- | |||||||||
8 | Inspect circuit 1222 for an open or short to ground. Refer to Electrical Diagnosis, Section 8. Did you find a problem? | -- | ||||||||
9 | Replace the PCM. Refer to Powertrain Control Module Replacement/Programming , Section 6. Is the replacement complete? | -- | -- | |||||||
Is the resistance within the specified values? | 19-31ohms | |||||||||
11 |
Is the resistance within the specified values? | 19-31ohms | ||||||||
12 | Measure the resistance between terminals A and E and ground. Use the J 39200 DMM. Are both reading greater than the specified value? | 250kohms | Go to Diagnostic Aids | |||||||
13 |
Are both readings greater than the specified value? | 250kohms | ||||||||
14 | Replace the Automatic Transmission Wiring Harness Assembly. Refer to Interior Wiring Harness Replacement, in On-vehicle Service. Is the replacement complete? | -- | -- | |||||||
15 | Replace the 1-2 SS Valve. Refer to Control Valve Body Removal and Disassembly, in On-Vehicle Service. Is the replacement complete? | -- | -- | |||||||
16 | In order to verify your repair, perform the following procedure:
Has the test run and passed? | -- | System OK |
The 1-2 Shift Solenoid Valve (1-2 SS Valve) controls the fluid flow action on the 1-2 and the 3-4 shift valves. The 1-2 SS Valve is a normally-open exhaust valve that is used with the 2-3 Shift Solenoid Valve (2-3 SS Valve) to allow for four different shifting combinations. The 1-2 SS Valve attaches to the control valve body within the transmission. The ignition voltage goes directly to the 1-2 SS Valve. The VCM controls the 1-2 SS Valve by providing the ground path through circuit 1222.
When the Vehicle Control Module (VCM) detects a continuous open or short in the 1-2 SS Valve circuit or the 1-2 SS Valve, then DTC P0753 sets. DTC P0753 is a type D DTC. For California emission vehicles, DTC P0753 is a type A DTC.
| • | The system voltage is 10-16 volts. |
| • | The ignition is ON. |
| • | The engine runs more than 475 RPM for greater than 5 seconds and not in fuel cutoff |
| • | Fails for 4.3 out of 5 seconds. |
| • | The VCM commands the solenoid on, and the voltage remains high (B+), or the VCM commands the solenoid off and the voltage remains low. |
| • | The VCM commands maximum line pressure. |
| • | The VCM freezes shift adapts. |
| • | The VCM illuminates the Malfunction Indicator Lamp (MIL) for California Emissions vehicles. |
| • | Inspect the wiring for poor electrical connections at the VCM. Inspect the wiring for poor electrical connections at the transmission 20-way connector. Look for the following problems: |
| - | A bent terminal |
| - | A backed out terminal |
| - | A damaged terminal |
| - | Poor terminal tension |
| - | A chafed wire |
| - | A broken wire inside the insulation |
| • | When diagnosing for an intermittent short or open, massage the wiring harness while watching the test equipment for a change. |
| • | An open ignition feed on circuit 1020 can cause multiple DTCs to set. |
| • | First diagnose and clear any engine DTCs or TP Sensor codes that are present. Then inspect for any transmission DTCs that may have reset. |
| • | Refer to Shift Solenoid Valve State and Gear Ratio table. |
The numbers below refer to the step numbers on the diagnostic table.
This step tests the function of the 1-2 SS Valve and the Automatic Transmission Wiring Harness Assembly.
This step tests the power to the 1-2 SS Valve from the ignition through the fuse.
This step tests the ability of the VCM and the wiring to control the ground circuit.
This step measures the resistance of the Automatic Transmission Wiring Harness Assembly and the 1-2 SS Valve.
Step | Action | Value(s) | Yes | No | ||||||
|---|---|---|---|---|---|---|---|---|---|---|
1 | Was the Powertrain On-Board Diagnostic (OBD) System Check performed? | -- | ||||||||
2 |
Important: Before clearing the DTCs, use the scan tool in order to record the Freeze Frame and Failure Records for reference. The Clear Info function will erase the data. Were DTCs P0753, P0758, and P1860 set? | -- | ||||||||
3 |
Refer to Electrical Diagnosis, Section 8.
Did you find and correct a problem? | -- | -- | |||||||
Command the 1-2 SS Valve ON and OFF three times while listening to the bottom of the transmission pan (use a stethoscope if needed). Does the solenoid click when commanded? | -- | Go to Diagnostic Aids | ||||||||
Is the test lamp on? | -- | |||||||||
6 | Repair the open or short to ground in ignition feed circuit 1020 to the 1-2 SS Valve. Refer to Electrical Diagnosis, Section 8. Did you find and correct a problem? | -- | -- | |||||||
Does the test lamp illuminate when you command the shift solenoid ON and turn off when you command the shift solenoid OFF? | -- | |||||||||
8 | Inspect circuit 1222 for an open or short to ground. Refer to Electrical Diagnosis, Section 8. Did you find a problem? | -- | ||||||||
9 | Replace the VCM. Refer to VCM Replacement/Programming , Section 6. Is the replacement complete? | -- | -- | |||||||
Is the resistance within the specified values? | 19-31Ω | |||||||||
11 |
Is the resistance within the specified values? | 19-31Ω | ||||||||
12 | Measure the resistance between terminals A and E to ground. Use the J 39200 DMM. Are both readings greater than the specified value? | 250kΩ | Go to Diagnostic Aids | |||||||
13 |
Are both readings greater than the specified value? | 250kΩ | ||||||||
14 | Replace the Automatic Transmission Wiring Harness Assembly. Refer to Interior Wiring Harness Replacement, in On-Vehicle Service. Is the replacement complete? | -- | -- | |||||||
15 | Replace the 1-2 SS Valve. Refer to Control Valve Body Removal and Disassembly, in On-Vehicle Service. Is the replacement complete? | -- | -- | |||||||
16 | In order to verify your repair, perform the following procedure:
Has the test run and passed? | -- | System OK |