GM Service Manual Online
For 1990-2009 cars only

DTC P0758 2-3 (B) Shift Solenoid Electrical 6.5L Diesel


Object Number: 40789  Size: MF
Automatic Transmission Components Diesel
Automatic Transmission Controls Schematics 6.5 L Diesel Schematics
OBD II Symbol Description Notice
Handling ESD Sensitive Parts Notice

Circuit Description

The 2-3 Shift Solenoid Valve controls fluid acting on the 2-3 shift valves. The 2-3 SS Valve is a normally-open exhaust valve used with the 1-2 Shift Solenoid Valve (1-2 SS Valve) in order to allow four different shifting combinations. The 2-3 SS Valve attaches to the control valve body within the transmission. The ignition voltage goes directly to the 2-3 SS Valve. The Powertrain Control Module (PCM) controls the 2-3 SS Valve by providing the ground path through circuit 1223.

If the PCM detects a continuous open or short to ground in the 2-3 SS Valve circuit or the 2-3 SS Valve, then DTC P0758 sets. DTC P0758 is a type A DTC.

Conditions for Setting the DTC

    • The engine is running greater than 475 RPM for greater than 7 seconds.
    • The system voltage is 10-16.5 volts.
    • The PCM commands the 2-3 SS Valve On, and the voltage remains high (B+).
    • The PCM commands the 2-3 SS Valve Off, and the voltage remains low (0 volts).
    • A fault is detected for 4.3 out of 5 seconds.

Action Taken When the DTC Sets

    • The PCM commands an immediate landing to second gear.
    • The PCM commands maximum line pressure.
    • The PCM freezes 1-2 shift adapts from being updated.
    • The PCM inhibits TCC engagement.
    • The PCM illuminates the Malfunction Indicator Lamp (MIL).

Conditions for Clearing the MIL/DTC

  1. The PCM turns OFF the MIL after three consecutive ignition cycles without a failure reported.
  2. A scan tool can clear the DTC from the PCM history. The PCM clears the DTC from the PCM history if the vehicle completes 40 warm-up cycles without a failure reported.
  3. The PCM cancels the DTC default actions when the fault no longer exists and the ignition is OFF long enough in order to power down the PCM

Diagnostic Aids

    • Inspect the wiring for poor electrical connections at the PCM Inspect the wiring for poor electrical connections at the transmission 20-way connector. Look for the following problems:
       - A bent terminal
       - A backed out terminal
       - A damaged terminal
       - Poor terminal tension
       - A chafed wire
       - A broken wire inside the insulation
    • When diagnosing for an intermittent short or open, massage the wiring harness while watching the test equipment for a change.
    • First diagnose and clear any engine DTCs that are present. Then inspect for any transmission DTCs that may have reset.
    • Refer to Shift Solenoid Valve State and Gear Ratio table.

Test Description

The numbers below refer to the step numbers on the diagnostic table.

  1. This step tests the function of the 2-3 SS Valve and the Automatic Transmission Wiring Harness Assembly.

  2. This step tests the power to the 2-3 SS Valve from the ignition through the fuse.

  3. This step tests the ability of the PCM and the wiring to control the ground circuit.

  4. This step measures the resistance of the Automatic Transmission Wiring Harness Assembly and the 2-3 SS Valve.

P0758

Step

Action

Value(s)

Yes

No

1

Was the Powertrain On-Board Diagnostic (OBD) System Check performed?

--

Go to Step 2

Go to Powertrain On Board Diagnostic (OBD) System Check

2

  1. Install the Scan Tool ®.
  2. With the engine OFF, turn the ignition switch to the RUN position.
  3. Important: Before clearing the DTCs, use the scan tool in order to record the Freeze Frame and Failure Records for reference. The Clear Info function will erase the data.

  4. Record the DTC Freeze Frame and Failure Records.

Are DTCs P0753, P0758, and P1860 set?

--

Go to Step 3

Go to Step 4

3

  1. Inspect the Trans. fuse.
  2. If you find an open fuse, inspect the following components for a short to ground.
  3. Refer to Electrical Diagnosis, Section 8.

    • Circuit 1020
    • The 2-3 SS Valve
    • The Automatic Transmission Wiring Harness Assembly
  4. Repair the circuit, the solenoid valve, and the harness if necessary.

Did you find and correct a problem?

--

Go to Step 16

--

4

Command the 2-3 SS Valve ON and OFF three times while listening to the bottom of the transmission pan (use a stethoscope if needed).

Does the solenoid click when commanded?

--

Go to Diagnostic Aids

Go to Step 5

5

  1. Turn the ignition OFF.
  2. Disconnect the transmission 20-way connector (additional DTCs will set).
  3. Install the J 39775 Jumper Harness on the engine harness connector.
  4. With the engine OFF, turn the ignition switch to the RUN position.
  5. Connect a test lamp from J 39775 Jumper Harness cavity E to ground.

Is the test lamp on?

--

Go to Step 7

Go to Step 6

6

Repair the open or short to ground in ignition feed circuit 1020 to the 2-3 SS Valve.

Refer to Electrical Diagnosis, Section 8.

Did you find and correct a problem?

--

Go to Step 16

--

7

  1. Install a test lamp between cavity E and cavity A of the J 39775 Jumper Harness.
  2. Using the transmission output control function, command the 2-3 SS Valve On and Off three times.

Does the test lamp illuminate when you command the shift solenoid ON and turn off when you command the shift solenoid OFF?

--

Go to Step 10

Go to Step 8

8

Inspect circuit 1223 for an open or short to ground.

Refer to Electrical Diagnosis, Section 8.

Did you find a problem?

--

Go to Step 16

Go to Step 9

9

Replace the PCM.

Refer to Powertrain Control Module Replacement/Programming , Section 6.

Is the replacement complete?

--

Go to Step 16

--

10

  1. Turn the ignition OFF.
  2. Install the J 39775 Jumper Harness on the transmission 20-way connector.
  3. With the J 39200 DMM and the J 35616 Connector Test Adapter Kit , measure the resistance between terminals B and E.

Is the resistance within the specified values?

19-31ohms

Go to Step 12

Go to Step 11

11

  1. Disconnect the Automatic Transmission Wiring Harness Assembly from the 2-3 SS Valve.
  2. Measure the resistance of the 2-3 SS Valve.

Is the resistance within the specified values?

19-31ohms

Go to Step 14

Go to Step 15

12

Measure the resistance between terminals B and E to a good ground. Use the J 39200 DMM.

Are both reading greater than the specified value?

250kohms

Go to Diagnostic Aids

Go to Step 13

13

  1. Disconnect the Automatic Transmission Wiring Harness Assembly from the 2-3 SS Valve.
  2. Measure the resistance from the component's terminals to ground.

Are both readings greater than the specified value?

250kohms

Go to Step 14

Go to Step 15

14

Replace the Automatic Transmission Wiring Harness Assembly.

Refer to Interior Wiring Harness Replacement, in On-vehicle Service.

Is the replacement complete?

--

Go to Step 16

--

15

Replace the 2-3 SS Valve.

Refer to Control Valve Body Removal and Disassembly, in On-Vehicle Service.

Is the replacement complete?

--

Go to Step 16

--

16

In order to verify your repair, perform the following procedure:

  1. Select DTC.
  2. Select Clear Info.
  3. Operate the vehicle under the following conditions:
  4. • The PCM commands the 2-3 SS Valve On, and the voltage drops to zero.
    • The PCM commands the 2-3 SS Valve OFF, and the voltage increases to B+.
    • All conditions met for 4.3 out of 5 seconds.
  5. Select Specific DTC. Enter DTC P0758.

Has the test run and passed?

--

System OK

Begin the diagnosis again. Go to Step 1

DTC P0758 2-3 (B) Shift Solenoid Electrical 5.7L and 7.4L Gas


Object Number: 40800  Size: MF
Automatic Transmission Components Gas
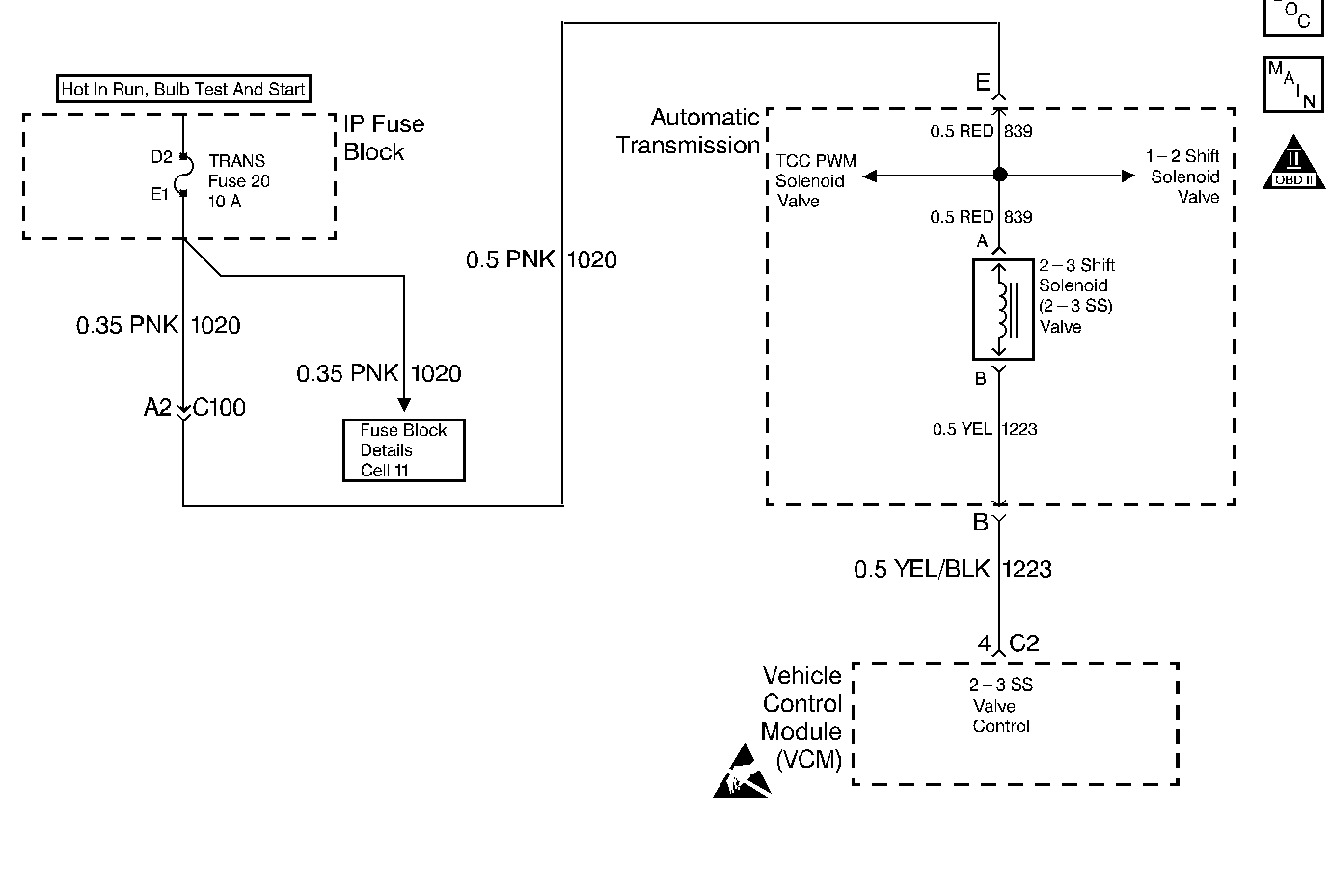
Automatic Transmission Controls Schematics 5.7 and 7.4 L Gas Schematics
OBD II Symbol Description Notice
Handling ESD Sensitive Parts Notice

Circuit Description

The 2-3 Shift Solenoid Valve (2-3 SS Valve) controls fluid acting on the 2-3 shift valve. The 2-3 SS Valve is a normally-open exhaust valve used with the 1-2 Shift Solenoid Valve (1-2 SS Valve) in order to allow four different shifting combinations. The 2-3 SS Valve attaches to the control valve body within the transmission. The ignition voltage goes directly to the 2-3 SS Valve. The Vehicle Control Module (VCM) controls the 2-3 SS Valve by providing the ground path through circuit 1223.

If the VCM detects a continuous open or short in the 2-3 SS Valve circuit or the 2-3 SS Valve, then DTC P0758 sets. DTC P0758 is a type D DTC. For California emissions vehicles, DTC P0758 is a type A DTC.

Conditions for Setting the DTC

    • The system voltage is 10-16 volts.
    • The engine is running more than 475 RPM for more than 7 seconds.
    • The VCM commands the 2-3 SS Valve On, and the voltage remains high (B+).
    • The VCM commands the 2-3 SS Valve Off, and the voltage remains low (0 volts).
    • All conditions are met for 5 seconds.

Action Taken When the DTC Sets

    • The VCM commands an immediate landing to second gear.
    • The VCM commands maximum line pressure.
    • The VCM freezes shift adapts form being updated.
    • The VCM illuminates the Malfunction Indicator Lamp (MIL) for California emission vehicles.

Conditions for Clearing the DTC

  1. For California emissions vehicles, the VCM turns OFF the MIL after three consecutive ignition cycles without a failure reported.
  2. A scan tool can clear the DTC from the VCM history. The VCM clears the DTC from the VCM history if the vehicle completes 40 warm-up cycles without a failure reported.
  3. The VCM cancels the DTC default actions when the fault no longer exists and the ignition is OFF long enough in order to power down the VCM.

Diagnostic Aids

    • Inspect the wiring for poor electrical connections at the VCM. Inspect the wiring for poor electrical connections at the transmission 20-way connector. Look for the following problems:
       - A bent terminal
       - A backed out terminal
       - A damaged terminal
       - Poor terminal tension
       - A chafed wire
       - A broken wire inside the insulation
    • When diagnosing for an intermittent short or open, massage the wiring harness while watching the test equipment for a change.
    • First diagnose and clear any engine DTCs or TP Sensor codes that are present. Then inspect for any transmission DTCs that may have reset.
    • Refer to Shift Solenoid Valve State and Gear Ratio table.

Test Description

The numbers below refer to the step numbers on the diagnostic table.

  1. This step tests the function of the 2-3 SS Valve and the Automatic Transmission Wiring Harness Assembly.

  2. This step tests the power to the 2-3 SS Valve from the ignition through the fuse.

  3. This step tests the ability of the VCM and the wiring to control the ground circuit.

  4. This step measures the resistance of the Automatic Transmission Wiring Harness Assembly (A/T Wiring Harness Assy.) and the 2-3 SS valve.

P0758

Step

Action

Value(s)

Yes

No

1

Was the Powertrain On-Board Diagnostic (OBD) System Check performed?

--

Go to Step 2

Go to Powertrain On Board Diagnostic (OBD) System Check

2

  1. Install the Scan Tool ®.
  2. With the engine OFF, turn the ignition switch to the RUN position.
  3. Important: Before clearing the DTCs, use the scan tool in order to record the Freeze Frame and Failure Records for reference. The Clear Info function will erase the data.

  4. Record the DTC Freeze Frame and Failure Records.

Were DTCs P0753, P0758, and P1860 set?

--

Go to Step 3

Go to Step 4

3

  1. Inspect the trans. fuse.
  2. If you find an open fuse, inspect the following components for a short to ground.
  3. Refer to Electrical Diagnosis, Section 8.

    • Circuit 1020
    • The 2-3 SS Valve
    • The Automatic Transmission Wiring Harness Assembly
  4. Repair the circuit, the solenoid, and the harness if necessary.

Did you find and correct a problem?

--

Go to Step 16

--

4

Command the 2-3 SS Valve ON and OFF three times while listening to the bottom of the transmission pan (use a stethoscope if needed).

Does the solenoid click when commanded?

--

Go to Diagnostic Aids

Go to Step 5

5

  1. Turn the ignition OFF.
  2. Disconnect the transmission 20-way connector (additional DTCs will set).
  3. Install the J 39775 Jumper Harness on the engine harness connector.
  4. With the engine OFF, turn the ignition switch to the RUN position.
  5. Connect a 12 volt test lamp from J 39775 Jumper Harness cavity E to ground.

Is the test lamp on?

--

Go to Step 7

Go to Step 6

6

Repair the open or short to ground in ignition feed circuit 1020 to the 2-3 SS Valve.

Refer to Electrical Diagnosis, Section 8.

Did you find and correct a problem?

--

Go to Step 16

--

7

  1. Install the test lamp between cavities E and B of the J 39775 Jumper Harness.
  2. Using the transmission output control function, command the 2-3 SS Valve On and Off three times.

Does the test lamp illuminate when you command the shift solenoid ON and turn off when you command the shift solenoid OFF?

--

Go to Step 10

Go to Step 8

8

Inspect circuit 1223 for an open or short to ground.

Refer to Electrical Diagnosis, Section 8.

Did you find a problem?

--

Go to Step 16

Go to Step 9

9

Replace the VCM.

Refer to VCM Replacement/Programming , Section 6.

Is the replacement complete?

--

Go to Step 16

--

10

  1. Turn the ignition OFF.
  2. Install the J 39775 Jumper Harness on the transmission 20-way connector. ( Automatic Transmission Connector End View )
  3. Using the J 39200 DMM and the J 35616 Connector Test Adapter Kit , measure the resistance between terminals B and E.

Is the resistance within the specified values?

19-31Ω

Go to Step 12

Go to Step 11

11

  1. Disconnect the Automatic Transmission Wiring Harness Assembly from the 2-3 SS Valve.
  2. Measure the resistance of the 2-3 SS Valve.

Is the resistance within the specified values?

19-31Ω

Go to Step 14

Go to Step 15

12

  1. Measure the resistance between terminal B and a good ground.
  2. Measure the resistance between terminal E and a good ground.

Use the J 39200 DMM.

Are both readings greater than the specified value?

250kΩ

Go to Diagnostic Aids

Go to Step 13

13

  1. Disconnect the Automatic Transmission Wiring Harness Assembly from the 2-3 SS Valve.
  2. Measure the resistance from each of the component's terminals to ground.

Are both readings greater than the specified value?

250kΩ

Go to Step 14

Go to Step 15

14

Replace the Automatic Transmission Wiring Harness Assembly.

Refer to Interior Wiring Harness Replacement, in On-Vehicle Service.

Is the replacement complete?

--

Go to Step 16

--

15

Replace the 2-3 SS Valve.

Refer to Control Valve Body Removal and Disassembly, in On-Vehicle Service.

Is the replacement complete?

--

Go to Step 16

--

16

In order to verify your repair, perform the following procedure:

  1. Select DTC.
  2. Select Clear Info.
  3. Operate the vehicle under the following conditions:
  4. • The VCM commands the 2-3 SS Valve On, and the voltage drops to zero.
    • The VCM commands the 2-3 SS Valve OFF, and the voltage increases to B+.
    • All conditions met for 5 seconds.
  5. Select Specific DTC. Enter DTC P0758.

Has the test run and passed?

--

System OK

Begin the diagnosis again. Go to Step 1