GM Service Manual Online
For 1990-2009 cars only

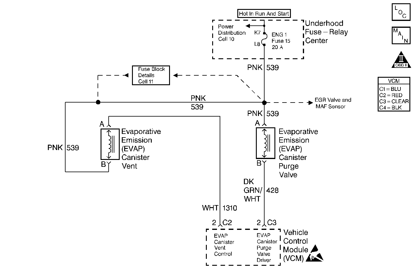
Object Number: 196163  Size: MF
AIR/EVAP - Comp Loc Figure
EVAP and EGR Controls
OBD II Symbol Description Notice
Handling ESD Sensitive Parts Notice

Circuit Description

The evaporative system includes the following components:

    • The fuel tank
    • The EVAP vent solenoid
    • The fuel tank pressure sensor
    • The fuel pipes and hoses
    • The vapor lines
    • The fuel cap
    • The evaporative emission canister
    • The purge lines
    • The EVAP purge solenoid

The evaporative leak detection diagnostic strategy is based on applying the vacuum to the EVAP system and monitoring the vacuum decay. The VCM monitors the vacuum level via the fuel tank vacuum sensor input. At an appropriate time, the EVAP purge solenoid and the EVAP vent solenoid turn ON, allowing the engine vacuum to draw a small vacuum on the entire evaporative emission system. If a sufficient vacuum level cannot be achieved, a large leak or a malfunctioning EVAP purge solenoid is indicated. The following conditions can cause this problem:

    • A disconnected or malfunctioning fuel tank pressure sensor
    • A missing, malfunctioning, improperly installed, or loose fuel cap
    • A disconnected, damaged, pinched or blocked EVAP purge line
    • A disconnected or damaged EVAP vent hose
    • A disconnected, damaged, pinched, or blocked fuel tank vapor line
    • A disconnected or malfunctioning EVAP purge solenoid
    • A disconnected or malfunctioning EVAP vent solenoid
    • An open ignition feed circuit to the EVAP vent or purge solenoid
    • A damaged EVAP canister
    • A leaking fuel sender assembly O-ring
    • A leaking fuel tank or fuel filler neck

Conditions for Running the DTC

    • No active MAP sensor DTCs
    • No active TP sensor DTCs
    • No active VS DTCs
    • No active O2 sensor DTCs
    • No active ECT sensor DTCs
    • No active IAT sensor DTCs
    • DTC P0125 not active
    • The system voltage is between 10-17  volts
    • The Fuel Level is greater than 12.5 % and 87 %
    • The ECT is between 4-30°C (39-86°F)
    • The IAT is between 4-30°C (39-86°F)
    • The cold start temperature difference (ECT minus IAT) is less than
       - 1.5°C (35°F) when the IAT is greater than the ECT or
       - 8°C (46°F) when the ECT is greater than the IAT
    • The BARO is greater than 73 kpa

Conditions for Setting the DTC

The EVAP system is unable to generate a vacuum greater than a calibrated value over a specified period of time.

Action Taken When the DTC Sets

    • The VCM illuminates the MIL during the second consecutive drive cycle in which the diagnostic reports a fail.
    • The VCM will set the DTC and records the operating conditions at the time the diagnostic fails. The VCM stores the failure information in the scan tools Freeze Frame and Failure Records.

Conditions for Clearing the MIL/DTC

    • The MIL will turn OFF after one ignition cycle in which the diagnostic runs without a fault.
    • The Freeze Frame information and the history DTC will clear after one ignition cycle in which the diagnostic runs without a fault.
    • A scan tool can clear the DTC(s).

Diagnostic Aids

Important: An accurate indication of fuel level is required for the VCM to properly pass or fail this DTC. Always diagnose fuel level sensor DTC's before performing this DTC's diagnostic table. Always check for fuel level sensor DTC's stored in history.

Check for the following conditions:

    • A loose, missing, damaged, or improperly installed fuel cap
    • Missing or damaged O-rings at EVAP canister fuel vapor and purge line fittings
    • A loose, damaged or misaligned fuel filler tube or fuel filler vent hose
    • A cracked or punctured EVAP canister
    • A damaged or disconnected source vacuum line, EVAP purge line, vent hose or fuel tank vapor line
    • Incorrectly routed or defective EVAP system vacuum and vapor lines
    • A poor connection at the VCM: Inspect the harness connectors for the following conditions:
       - Backed out terminals
       - Improper mating
       - Broken locks
       - Improperly formed or damaged terminals
       - Poor terminal to wire connection
    • A damaged harness: Inspect the wiring harness to the EVAP vent solenoid EVAP purge solenoid and the fuel tank pressure sensor for an intermittent open or short circuit
    • A kinked, pinched or plugged vacuum source, EVAP purge, or fuel tank vapor line. Verify that the lines or not restricted.

Refer to EVAP System Cleaning before starting repairs.

Reviewing the Fail Records vehicle mileage since the diagnostic test last failed may help determine how often the condition that caused the DTC to be set occurs. This may assist in diagnosing the condition.

Test Description

Number(s) below refer to the step number(s) on the Diagnostic Table.

  1. Inspect the service port. Make sure that the dust cap and valve core is not loose or damaged. If the service port is suspect of leakage use the following procedure:

    Disconnect the purge line from the EVAP Purge solenoid valve.

    Connect a hand vacuum pump to the service port by placing the hose/adaptor over the unthreaded end portion of the service port.

    Apply vacuum to 5 in. Hg. If the vacuum does not hold replace the entire EVAP Purge line which includes the service port.

  2. If the vehicle passes the Service Bay Test then an intermittent leak or restriction had occurred. Check the fuel tank cap for a possible loose or off condition that may have caused this DTC to set.

    If the Service Bay Test can not be run, proceed to Step 5. If a fault is not currently present the diagnostic table steps will return you to Step 3.

  3. Refer to the information supplied with the EVAP pressure/purge diagnostic cart on proper setup and adjustment procedures.

  4. With pressure applied it may be necessary to disconnect the EVAP lines at the components to verify that a line or component is not restricted. A restriction would prevent a vacuum (or the Step 9 test pressure) from forming in the fuel tank.

  5. An EVAP Pressure sensor that does not correctly respond to vacuum (or pressure) will cause this DTC to set.

    The EVAP Pressure Sensor monitors a range from 7.5 in. H2O of pressure to -17.5 in. H2O of pressure (vacuum).

Step

Action

Value(s)

Yes

No

1

Important:: Before clearing the DTCs, use the scan tool Capture Info to save the Freeze Frame and Failure Records for reference. The control module's data is deleted once the Clear Info function is used.

Did you perform the Powertrain On-board Diagnostic (OBD) System check?

--

Go to Step 2

Go to Powertrain On Board Diagnostic (OBD) System Check

2

Check for DTC's P0442, P0446, P0452, P0453, P0461, P0462, P0463 and P1441.

Are any of the above EVAP system DTC's stored in HISTORY?

--

Go to the applicable DTC table

Go to Step 3

3

Inspect the EVAP system for the following conditions:

    • A loose, incorrect, defective or missing fuel tank cap.
    • Improperly routed, kinked or damaged EVAP system purge lines.
    • A damaged EVAP system component.
    • A loose, missing or damaged service port dust cap and/or schrader valve. Refer to Test Descriptions.

Repair the EVAP system if needed.

Was a repair made to the EVAP system?

--

Go to Step 25

Go to Step 4

4

Important: : Before proceeding with the Service Bay Test the vehicle must meet the following operating criteria:

   • Clear DTC Information.
   • Battery voltage between 10.5 and 17.5  volts.
   • Fuel level between 15 % and 85 %.
   • Key ON engine temperature is less than 80°C (176°F).

If any of the above conditions are not met the scan tool will display Test Aborted upon activating the Service Bay Test.

  1. Record the data stored when the DTC set and clear codes.
  2. Perform the Service Bay Test for the EVAP system.

Does the vehicle pass the Service Bay Test?

--

Condition not present. Go to Test Descriptions and Diagnostic Aids

Go to Step 5

5

  1. Turn OFF the ignition.
  2. Connect a vacuum gauge (in. Hg.) directly to the purge connection of the EVAP Purge Solenoid Valve.
  3. Start and idle the engine.
  4. Using a scan tool command the EVAP Purge Solenoid Valve to 100 % purge.

Is the vacuum at or above the specified value?

12 in. Hg

Go to Step 6

Go to Step 11

6

  1. Turn the ignition OFF.
  2. Disconnect the fuel tank vapor and the EVAP purge line from the EVAP vapor canister.
  3. Plug the canister fitting of the fuel tank vapor line.
  4. Connect a hand vacuum pump to the EVAP Purge line canister fitting.
  5. With the ignition ON, command the EVAP Vent Valve ON (closed) with the scan tool.
  6. Using the hand vacuum pump apply vacuum up to the specified value.

Can the specified value be obtained and held?

5 in. Hg

Go to Step 9

Go to Step 7

7

  1. Leave system connected as in Step 6.
  2. Disconnect the vent line at the EVAP Vent Valve.
  3. Plug the vent line.
  4. Using the hand vacuum pump apply vacuum up to the specified value.

Can the specified value be obtained and held?

5 in. Hg

Go to Step 15

Go to Step 8

8

  1. Inspect the EVAP Vent line from the canister to the EVAP Vent Valve for leaks.
  2. Replace if necessary.

Did you find a problem?

--

Go to Step 25

Go to Step 21

9

Important: The following steps require the EVAP pressure/purge diagnostic station J 41413 and the ultrasonic leak detector J 41416.

Always zero the EVAP Pressure and Vacuum (in. H2O) gauges on the EVAP pressure/purge diagnostic station before proceeding with diagnosis.

  1. Turn the ignition OFF.
  2. Remove the plug and the hand vacuum pump.
  3. Reconnect the EVAP vapor canister purge and tank vent lines.
  4. Connect the EVAP pressure/purge diagnostic station J 41413 to the EVAP system service port.
  5. Using a scan tool command the EVAP Vent Valve Closed.
  6. Important: Do Not apply more than 15 in. H2O of pressure to the EVAP system.

  7. Continuously attempt to pressurize the EVAP system by leaving the EVAP pressure/purge diagnostic station control knob in the pressurize position.
  8. Using the ultrasonic leak detector J 41416 locate and repair EVAP system leak.

Was a leak found and repaired?

--

Go to Step 25

Go to Step 10

10

  1. Check the EVAP system for restrictions. Refer to Test Description.
  2. Repair as necessary.

Did you find a problem?

--

Go to Step 24

Go to Step 22

11

  1. Turn ON the ignition, leave engine OFF. Disconnect the EVAP purge solenoid valve connector.
  2. Connect a test light between the purge solenoid ignition feed circuit and a known good engine ground.

Is the test light ON?

--

Go to Step 12

Go to Step 13

12

  1. Connect the test light between the EVAP solenoid ignition feed circuit and the EVAP solenoid control circuit.
  2. Use the scan tool to command the EVAP solenoid ON.

Is the test light ON?

--

Go to Step 19

Go to Step 14

13

  1. Check for and repair the cause of no power to the EVAP purge solenoid ignition feed circuit.
  2. Possible cause include the following:
  3. • Open ignition feed circuit
    • shorted ignition feed circuit (blown fuse)
    • shorted EVAP purge solenoid (blown fuse)
    • No power to EVAP purge solenoid fuse (blown maxi fuse, fuse link, etc.).

Is the repair complete?

--

Go to Step 25

--

14

  1. Inspect the EVAP purge solenoid control circuit for an open condition.
  2. Repair as necessary.

Was a problem found and repaired?

--

Go to Step 25

Go to Step 24

15

  1. Turn ON the ignition leaving the engine OFF. Disconnect the EVAP canister vent valve connector.
  2. Connect a test light between the EVAP canister vent valve ignition feed circuit and ground.

Is the test light ON?

--

Go to Step 16

Go to Step 17

16

  1. Connect the test light between the EVAP canister vent valve ignition feed circuit and the EVAP canister vent valve control circuit.
  2. Use the scan tool to command the EVAP canister vent valve ON.

Is the test light ON?

--

Go to Step 20

Go to Step 18

17

  1. Check for and repair the cause for no power to the EVAP canister vent valve ignition feed circuit.
  2. Possible cause include the following:
  3. • open ignition feed circuit
    • shorted ignition feed circuit (blown fuse)
    • shorted EVAP canister vent valve (blown fuse)
    • No power to EVAP canister vent valve fuse (blown maxi fuse, fuse link, etc.).

Is the repair complete?

--

Go to Step 25

--

18

  1. Inspect the EVAP canister vent valve control circuit for an open condition.
  2. Repair as necessary.

Was problem found and repaired?

--

Go to Step 25

Go to Step 24

19

Important: : Inspect the EVAP Purge Solenoid Valve and the purge line for carbon contamination. Refer to Diagnostic Aids.

Replace the EVAP Canister Purge Solenoid Valve. Refer to EVAP Canister Purge Solenoid Valve Replacement .

Is the replacement complete?

--

Go to Step 25

--

20

Replace the EVAP Vent Valve. Refer to Evaporative Emission Vent Valve Replacement .

Is the replacement complete?

--

Go to Step 25

--

21

Replace the EVAP Canister. Refer to EVAP Canister Replacement .

Is the replacement complete?

--

Go to Step 25

--

22

  1. Relieve all system pressure.
  2. Using the scan tool, use the Purge/Seal function to turn the EVAP Purge Solenoid Valve ON to varying vacuum levels with the engine running and quickly SEAL the system with the scan tool. Leaving the EVAP Purge Solenoid Valve ON for higher percents or longer times will allow a higher amount of vacuum to develop. A maximum of 8.5 in. H2O of vacuum can be applied to the EVAP system using the scan tool.
  3. While the system is sealed compare the EVAP pressure/purge diagnostic stations vacuum gauge (in. H2O) to the vacuum shown on the scan tool from the EVAP Fuel Tank Pressure sensor. Allow a few seconds for the system to stabilize.

Do the values indicate the same amount of vacuum in the EVAP system to within the range specified?

2 in. H2O

Go to Step 3

Go to Step 23

23

Replace the Fuel Tank Pressure Sensor. Refer to Fuel Tank Pressure Sensor Replacement (Pick-up) .

Is the replacement complete?

--

Go to Step 25

--

24

  1. Replace the VCM.
  2. Program the VCM. Refer to VCM Replacement/Programming .
  3. Perform the VTD Password Learn Procedure. Refer to Crankshaft Position System Variation Learn .
  4. Perform the Crankshaft Variation Learn Procedure. Refer to Crankshaft Position System Variation Learn .

Is the action complete?

--

Go to Step 25

--

25

  1. Using the Scan tool, clear the DTCs.
  2. Start the engine.
  3. Allow the engine to idle until the engine reaches normal operating temperature.
  4. Select DTC and the Specific DTC function.
  5. Enter the DTC number which was set.
  6. Operate the vehicle, with the Conditions for Setting this DTC, until the Scan Tool indicates the diagnostic Ran.

Does the Scan Tool indicate the diagnostic Passed?

--

Go to Step 26

--

26

Does the Scan Tool display any additional undiagnosed DTCs?

--

Go to the applicable DTC table

System OK